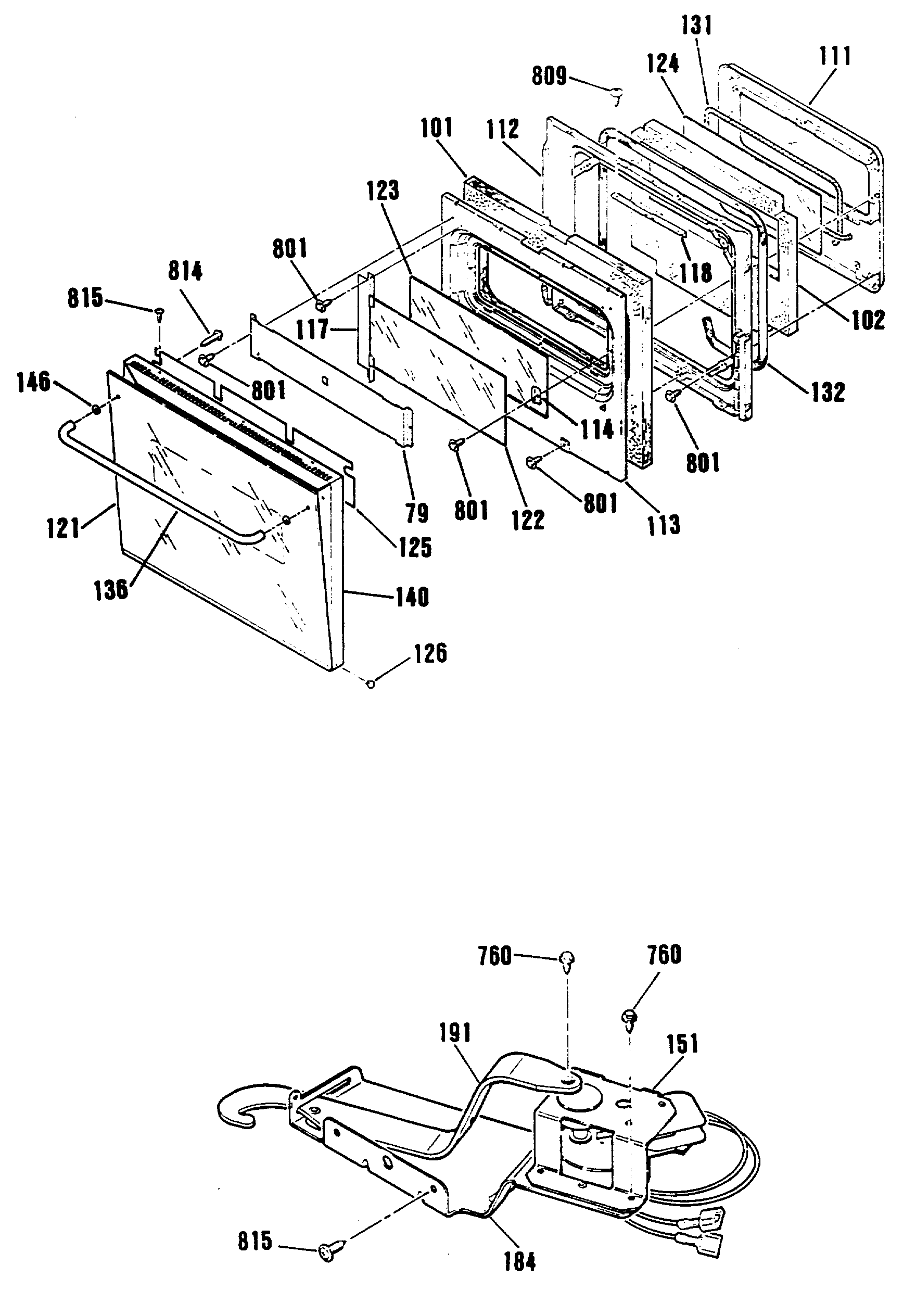
JKP76GP1 4