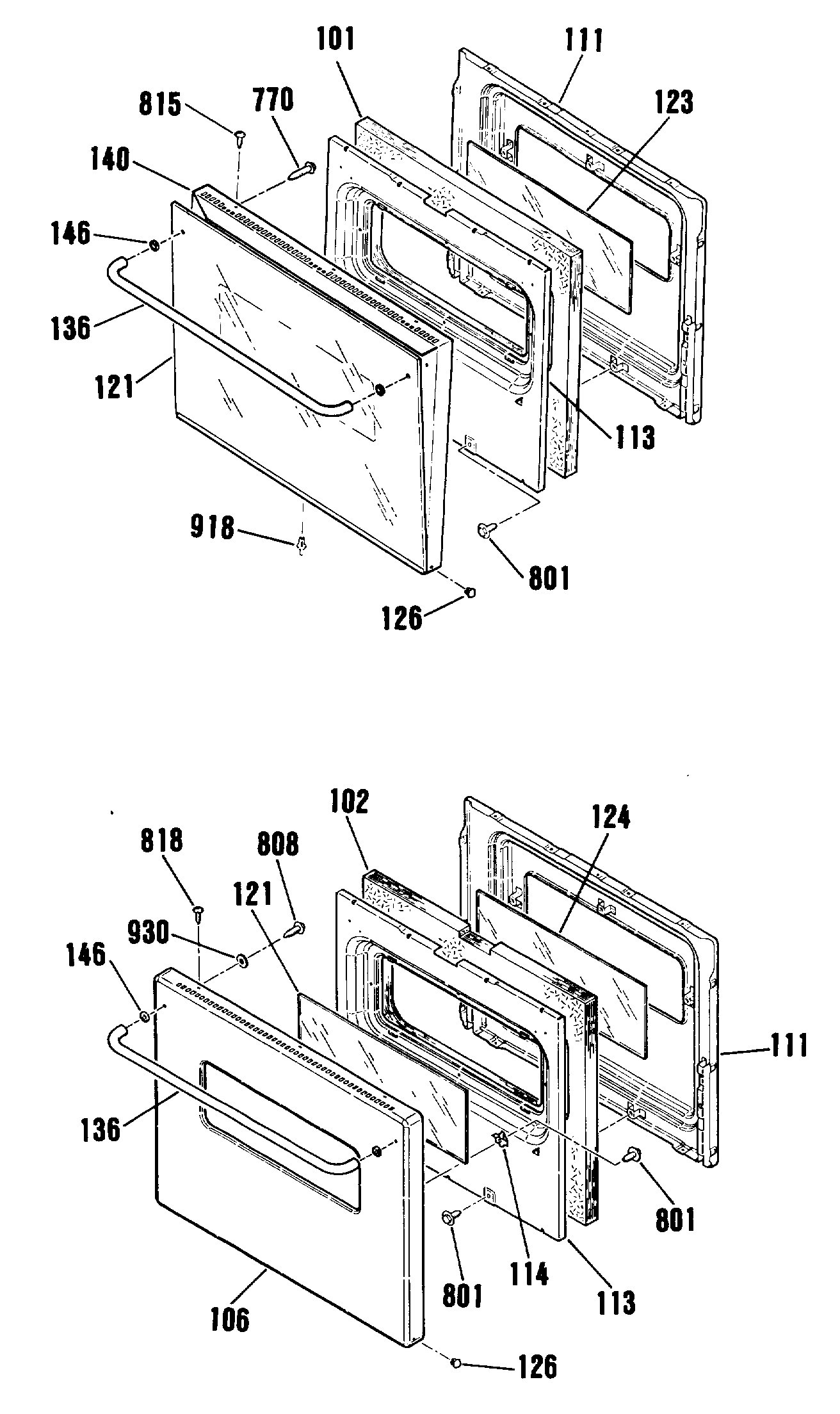
JKS05GP1 2