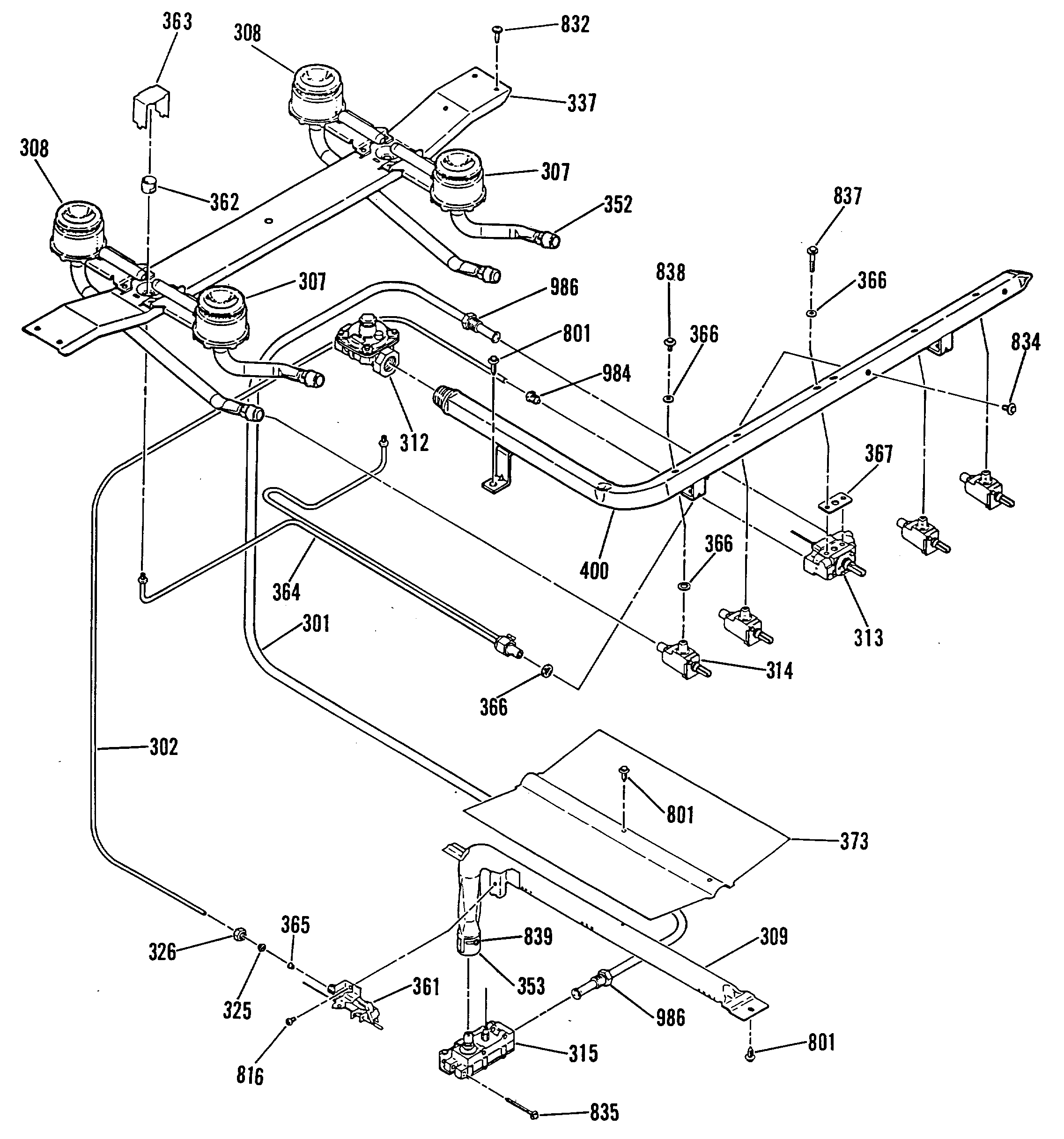
JLBS03PK3 0admin2025-04-26T08:45:46+00:00JLBS03PK3 0 ProductsPositionProduct3013/16 TUBE302TUBE 3/8 W/NUT307TOP BURNER ASM-FRONT308TOP BURNER ASM-REAR309OV BURN ASM (373,309,801312GEN WB19M0002313GEN WB20M0005314GAS VALVE-90 DEGREE315GEN WB19M00053253/16 TUBING SLEEVE326TUBING NUT 3/16337TOP BURNER SUPPORT352GEN WB02X9739353AIR SHUTTER-OVEN361GEN WB02X9186362GEN WB19M0006363GEN WB02X9185364FILTER W/PILOT365GEN WB02X9017366VALVE SCREW GASKET366VALVE GASKET366THERMOSTAT SCREW GASKET367THERMOSTAT GASKET373OV BURN BAFFLE400MANIFOLD PIPE ASM801WB1M1 GE Oven Screw806SCREW-BRT. NI.816GEN WB01X1125832WB1X1118 GE Oven Screw 6-32T834GEN WB01X1155835GEN WB01X1123837GEN WB01X1151838GEN WB01X1121839ADJUSTING SCREW984HEX NUT986NUT999GEN 31-0698999GEN 31-0733999GEN 49-4997