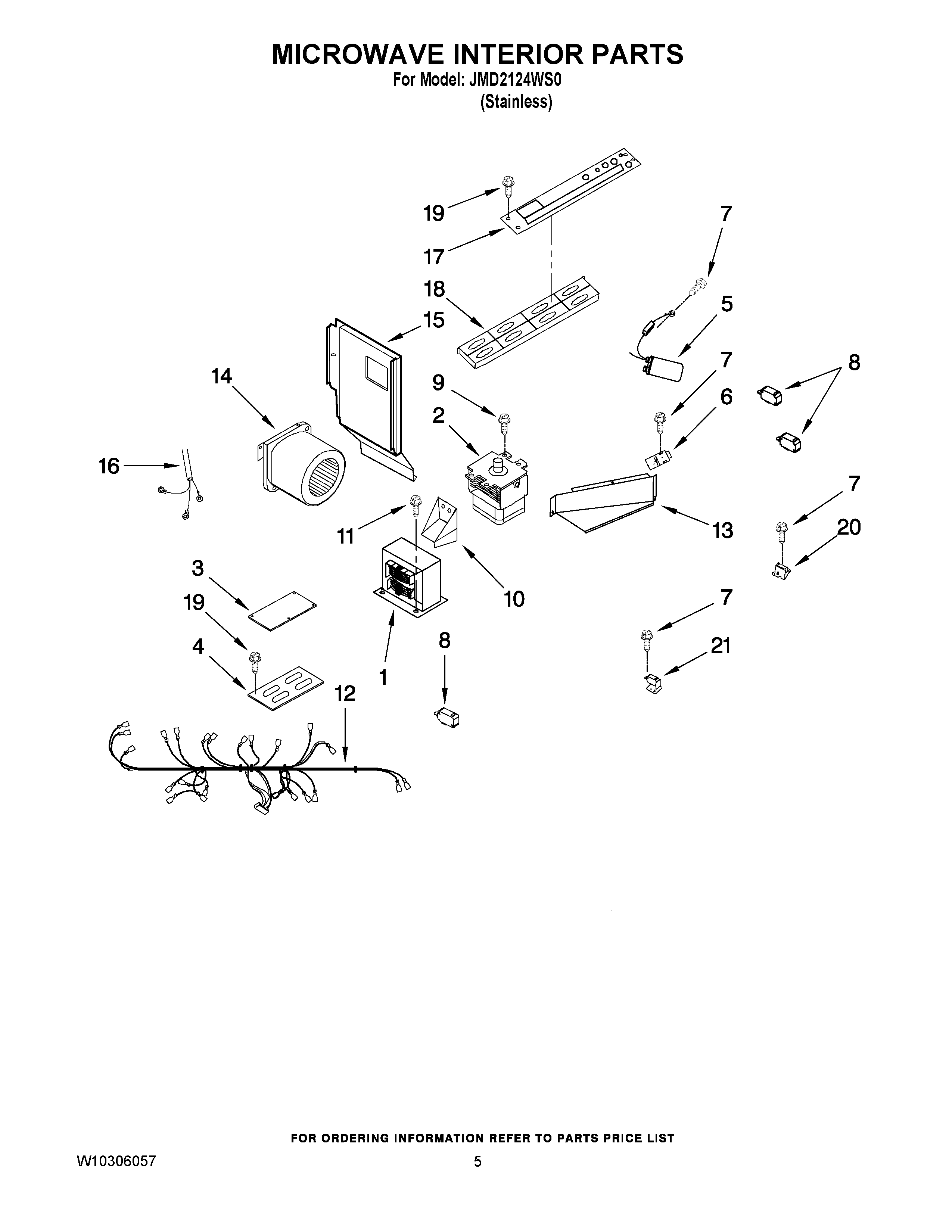
JMD2124WS0 05 – MICROWAVE INTERIOR PARTS