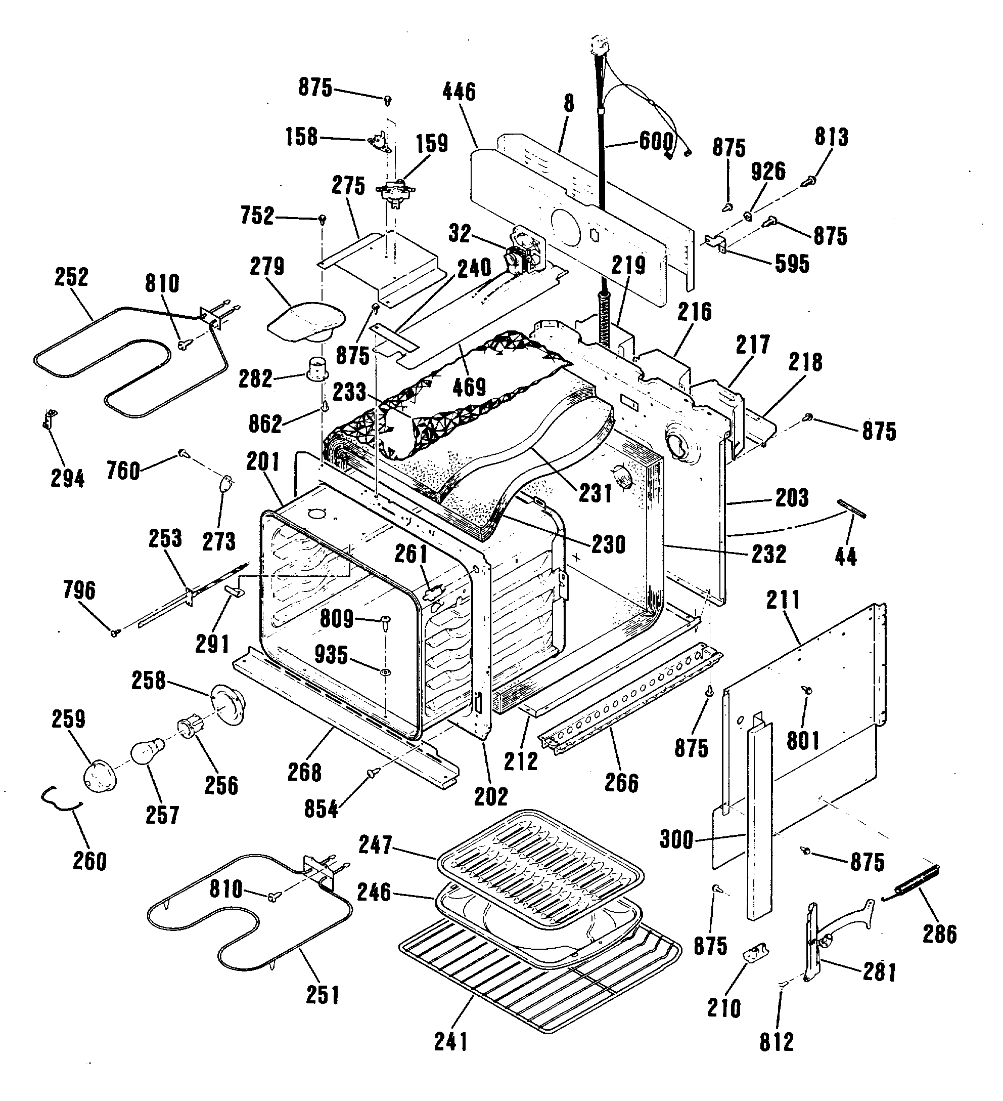
| 8 | FAN SUPPORT-LOWER |
| 32 | FAN ASM-LOWER |
| 44 | GEN WB02K5225 |
| 158 | WB24K5033 GE Oven Limit Switch |
| 159 | WB24K5049 GE Oven Limit Switch |
| 201 | GEN WB63K5086 |
| 202 | GEN WB63K5084 |
| 203 | GEN WB63K5078 |
| 210 | GEN WB07K5176 |
| 211 | GEN WB63K5085 |
| 212 | GEN WB63K5080 |
| 216 | GEN WB34K5069 |
| 217 | GEN WB34K5070 |
| 218 | GEN WB34K5067 |
| 219 | WB34K5082 GE Oven Wire Cover Conduit |
| 230 | WB35K5068 GE Insulation Wrapper |
| 231 | WB35K5048 GE Inner Wrapper Insulation |
| 233 | GEN WB34K5080 |
| 240 | WB34K5138 GE Front Barrier Frame Latch |
| 241 | WB48T10093 GE Oven Range Rack |
| 246 | WB48X10056 GE Broil Pan Set, Large Porcelain |
| 251 | WB44K5013 GE Oven Bake Element Range |
| 252 | WB44K5009 GE Oven Broil Element |
| 253 | WB21X5301 GE Range Stove Oven Temperature Sensor Probe 6" Length |
| 256 | WB8K5029 GE Oven Lamp Holder |
| 257 | GEN BUY-LOCAL |
| 258 | GEN WB02X7693 |
| 259 | WB36X192 GE Oven Light Cover |
| 260 | GEN WB02X7694 |
| 261 | GEN WB24K5061 |
| 266 | WB63K5079 GE Rail Base |
| 268 | GEN WB07K5175 |
| 273 | GEN WB02X3230 |
| 275 | WB34K5078 GE Oven Vent Box Cover |
| 279 | VENT BOX ASM-BLACK |
| 281 | GEN WB14K5007 |
| 281 | GEN WB14K5006 |
| 282 | GEN WB28K5010 |
| 286 | OV DR SPRING-UPPER |
| 291 | GEN WB02X9152 |
| 294 | WB2X9719 GE Oven Support Bracket Clip |
| 300 | GEN WB07K5174 |
| 446 | WB34K5089 GE Wire Center Cover |
| 469 | WB38K5041 GE Vent Box |
| 595 | WB2K5126 GE Oven Condenser Clamp |
| 600 | GEN WB18K5346 |
| 752 | WZ4X345D GE Screw Package 12 C92 |
| 760 | WB1X536 GE Oven Screw |
| 796 | WB1K5116 GE Oven Screw |
| 801 | WB1M1 GE Oven Screw |
| 809 | WB1X1137 GE Oven Screw |
| 810 | WB1X1130 GE Oven Screw 10-32 |
| 812 | WB1K5191 GE Oven Zinc FL Screw |
| 813 | WB1X1261 GE Oven Screw |
| 854 | GEN WB01X1328 |
| 862 | GEN WB01X1178 |
| 875 | GEN WB01K5057 |
| 926 | GROUND WASHER |