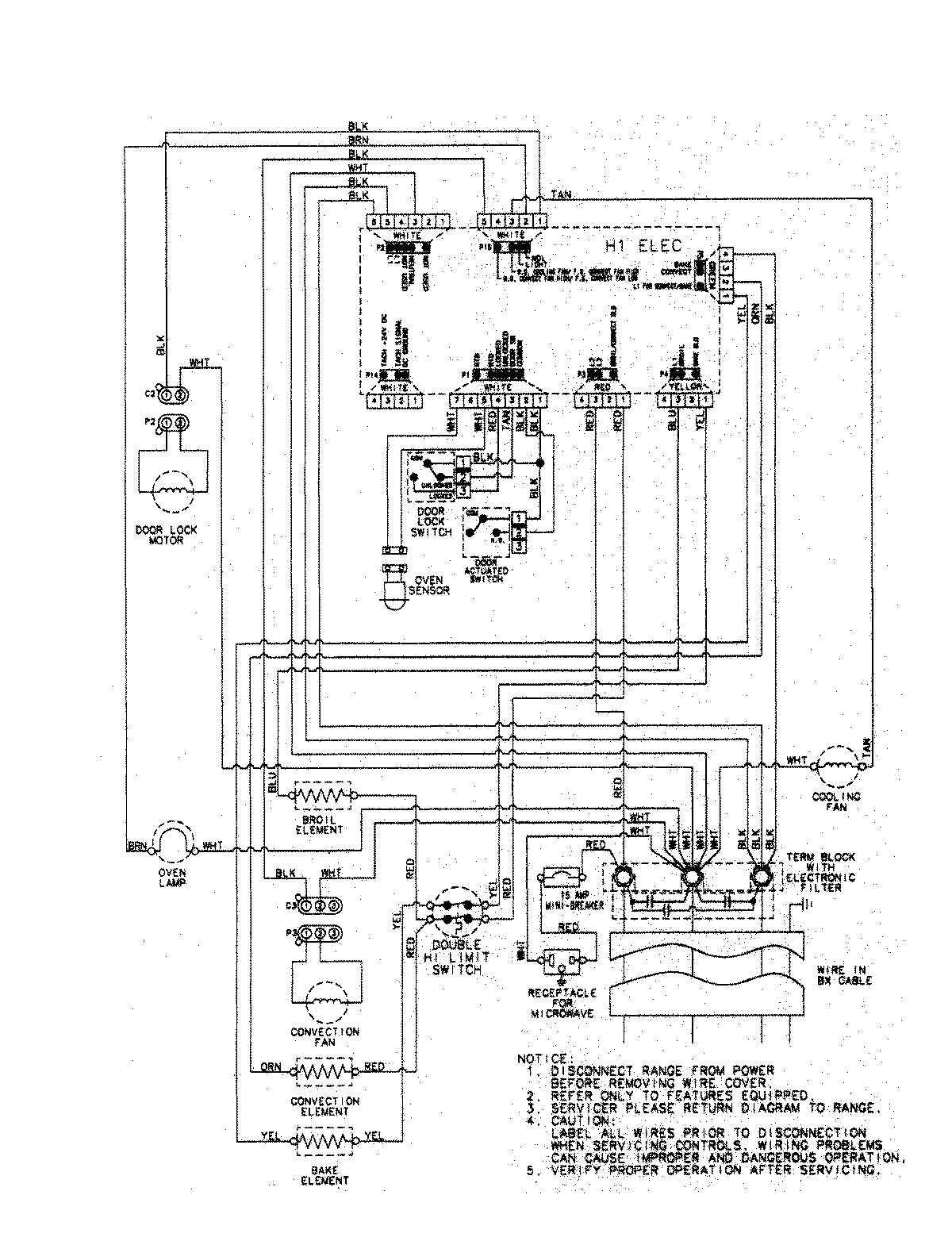
JMW8130DAB 08 – WIRING INFORMATIONadmin2025-04-26T09:42:52+00:00JMW8130DAB 08 – WIRING INFORMATION ProductsPositionProductNIMAY 15003317