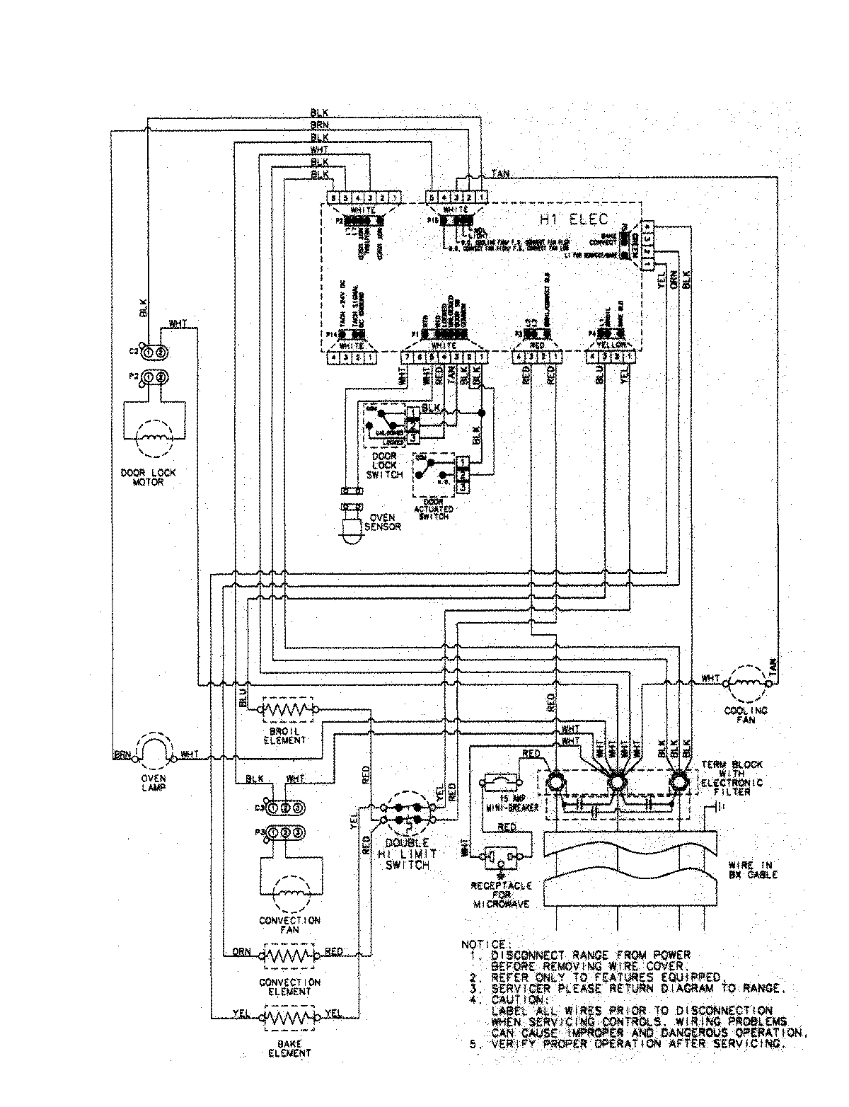
JMW8130DAW 08 – WIRING INFORMATIONadmin2025-04-26T09:42:56+00:00JMW8130DAW 08 – WIRING INFORMATION ProductsPositionProductNIMAY 15003317