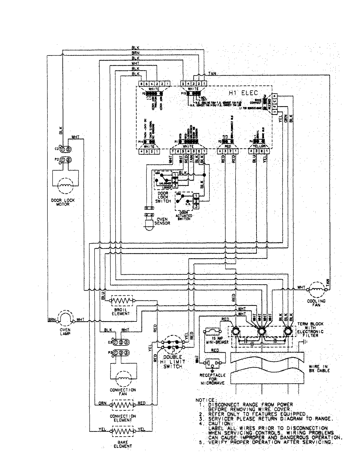
JMW9130DAB 08 – WIRING INFORMATIONadmin2025-04-26T09:06:27+00:00JMW9130DAB 08 – WIRING INFORMATION ProductsPositionProductNIMAY 15003317