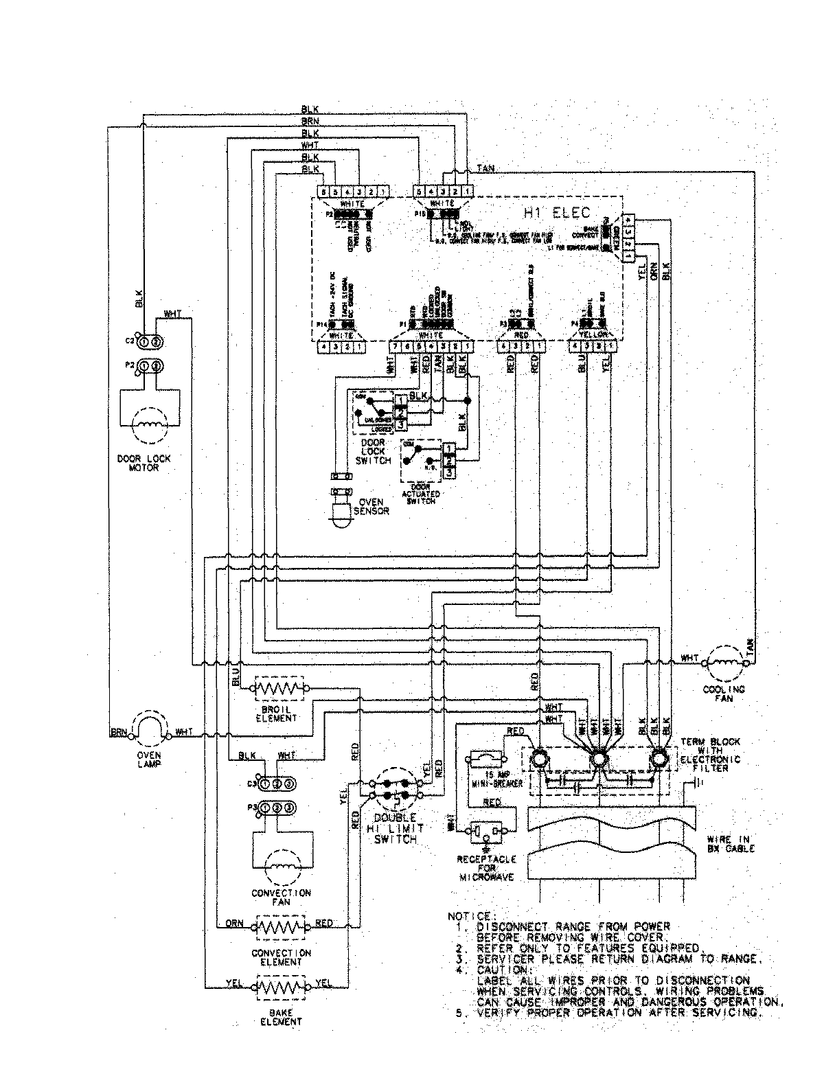
JMW9130DAS 08 – WIRING INFORMATION

JMW9130DAS 08 – WIRING INFORMATION

Products

PositionProduct
NIMAY 15003317