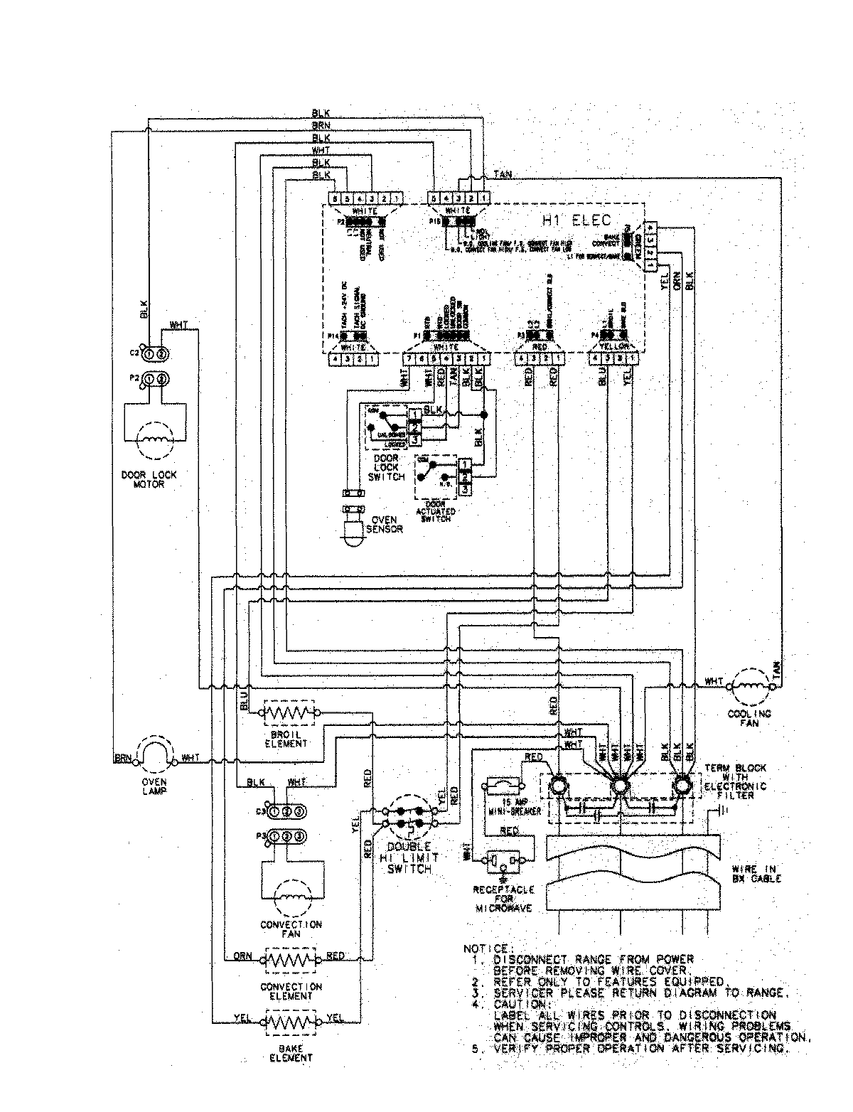
JMW9330DAS 08 – WIRING INFORMATIONadmin2025-04-26T09:05:45+00:00JMW9330DAS 08 – WIRING INFORMATION ProductsPositionProductNIMAY 15003317