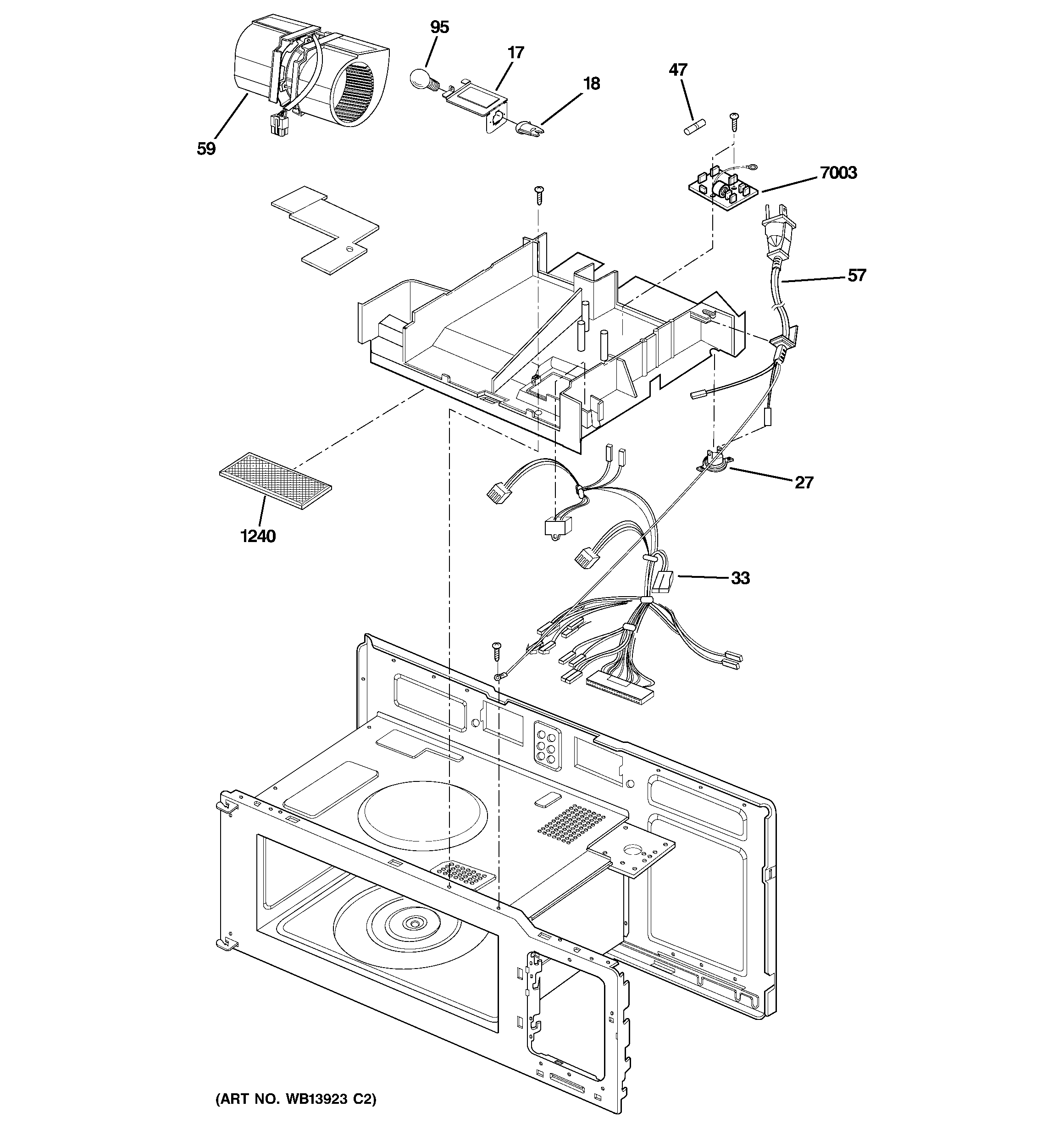
JNM1541DM1CC INTERIOR PARTS (2)admin2025-04-26T08:45:57+00:00JNM1541DM1CC INTERIOR PARTS (2) ProductsPositionProduct17COVER,LAMP18GEN WB08X1002227GEN WB27X1078933GEN WB18X1036747WB27X10928 GE Oven Line Fuse57GEN WB18X1036659MOTOR VENTILATION95GEN WB36X102941240WB02X33061 GE Charcoal Filter7003FILTER ASM NOISE