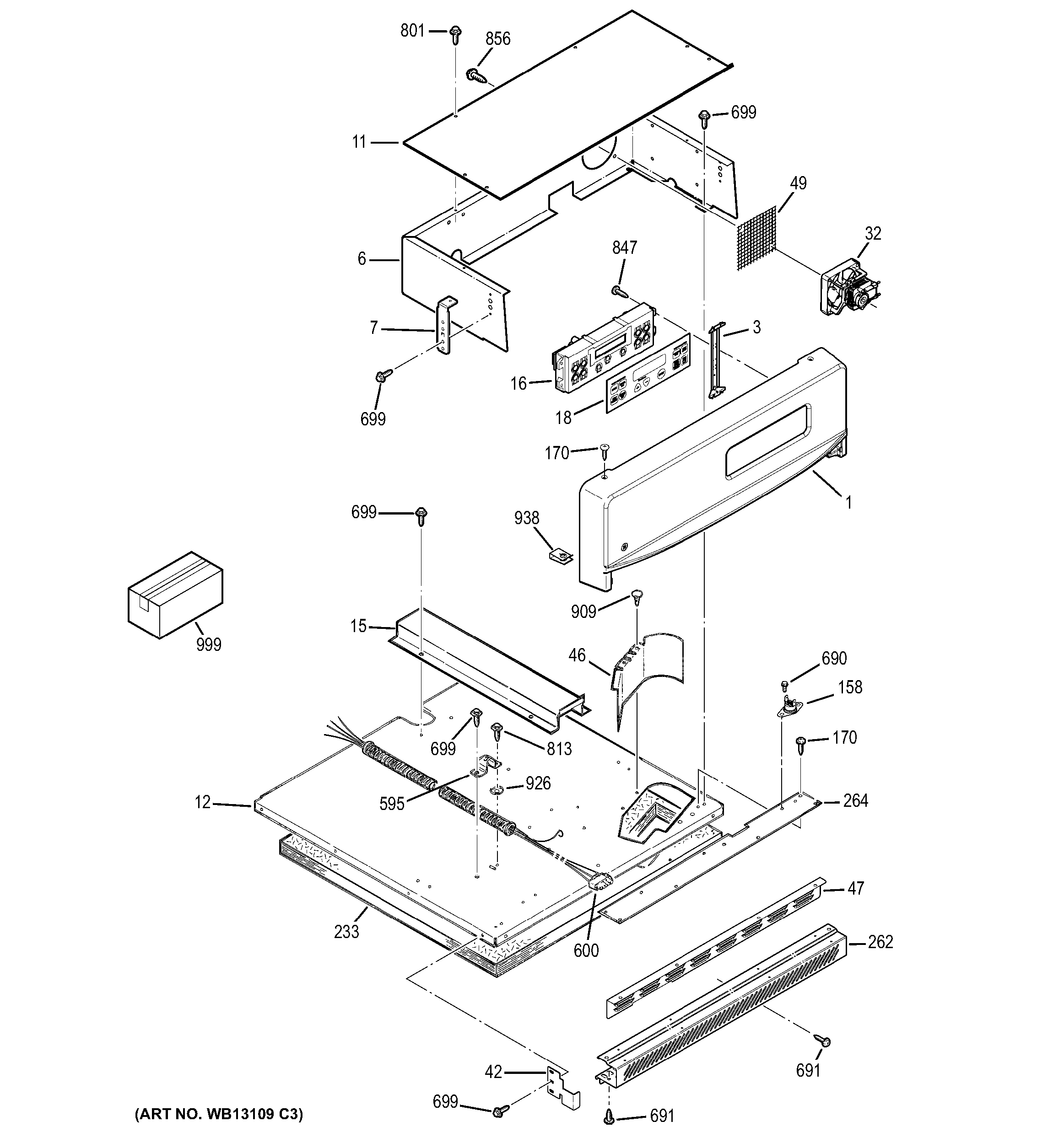
| 1 | WB36T10755 GE Oven Control Panel SWO SCR White |
| 3 | WB02T10250 GE Oven Control Mounting Bracket |
| 6 | WB37K5041 GE Control Housing |
| 7 | WB2K5406 GE Bracket |
| 11 | WB37K5040 GE Top Control Housing |
| 12 | GEN WB63K5120 |
| 15 | WB2X9665 GE Wire Cover |
| 16 | ERC3B2K5 OVEN CONTROL |
| 18 | WB27T10588 GE Oven Faceplate Graphic E03 |
| 32 | WB26K5072 GE Oven Fan Assembly |
| 42 | GEN WB34K5249 |
| 46 | GEN WB34K5099 |
| 47 | WB38K5058 GE Vent Barrier |
| 49 | GEN WB34T10066 |
| 158 | WB24T10096 GE Oven Limit Bimetal Switch |
| 170 | WB1K58 GE Screw 8-18 |
| 233 | GEN WB35K5066 |
| 262 | WB7K5495 GE Vent Trim Stainless Steel |
| 262 | WB7K5125 GE Oven Side Trim |
| 264 | GEN WB07K5121 |
| 595 | WB2K5126 GE Oven Condenser Clamp |
| 600 | GEN WB18K5364 |
| 690 | WB1K5167 GE Screw 8-18 X 3/8" |
| 691 | WB1X1149 GE Oven Screw |
| 691 | GEN WB01K5163 |
| 699 | WB1M1 GE Oven Screw |
| 813 | WB1X1261 GE Oven Screw |
| 847 | WB1X1118 GE Oven Screw 6-32T |
| 856 | WB1X1293 GE Oven Screw |
| 909 | WB1X1173 GE Rivet |
| 926 | GROUND WASHER |
| 938 | WB1K5209 GE Oven Clip |
| 999 | GEN 49-80345 |
| 999 | HARNESS WIRE MAIN |
| 999 | GEN 31-14203 |
| 999 | WB18T10334 GE Oven Harness Wire SNS/Lock |
| 999 | WB18T10305 GE Door Switch Wire Harness |
| 999 | GEN 31-10583N++ |