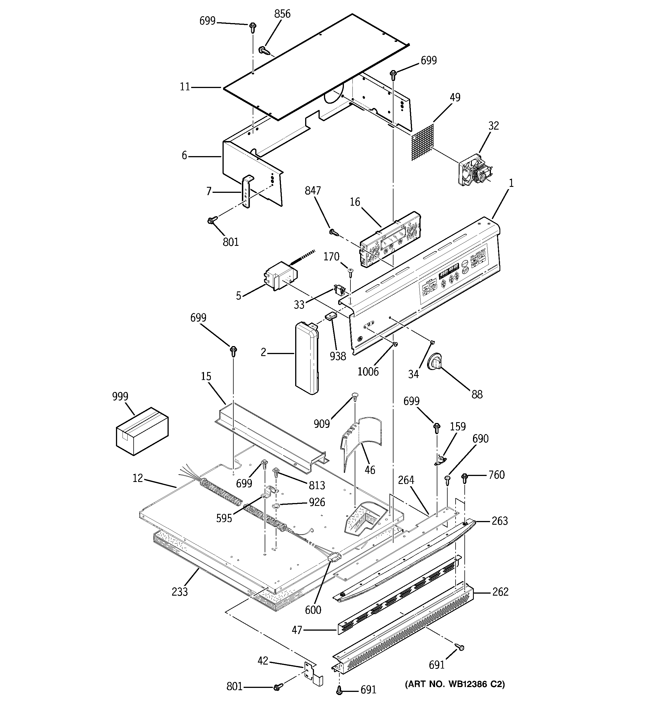
| 1 | GEN WB36T10574 |
| 2 | GEN WB36T10064 |
| 2 | GEN WB36T10065 |
| 5 | GEN WB20T10008 |
| 6 | WB37K5041 GE Control Housing |
| 7 | WB2K5406 GE Bracket |
| 11 | WB37K5040 GE Top Control Housing |
| 12 | GEN WB63K5120 |
| 15 | WB2X9665 GE Wire Cover |
| 16 | GEN WB27T10477 |
| 32 | WB26K5072 GE Oven Fan Assembly |
| 33 | WB25T10039 GE Oven Light Indicator |
| 42 | GEN WB34K5249 |
| 46 | GEN WB34K5099 |
| 47 | WB38K5058 GE Vent Barrier |
| 49 | GEN WB34T10066 |
| 88 | GEN WB03T10178 |
| 159 | WB24K5085 GE Oven Limit Switch |
| 170 | WB1K60 GE Screw 8-18 |
| 233 | GEN WB35K5066 |
| 262 | WB7K5263 GE Vertical Side Trim |
| 262 | WB7K5491 GE Trim Vent Black |
| 263 | I-BROW TRIM-BLK |
| 263 | TRIM CENTER I-BROW (BLK) |
| 264 | GEN WB07K5121 |
| 595 | WB2K5126 GE Oven Condenser Clamp |
| 600 | WB18X32567 GE Conduit Wire Assembly |
| 690 | WB1K5167 GE Screw 8-18 X 3/8" |
| 691 | WB1K5177 GE Oven Trim Screw |
| 691 | WB1K5162 GE Oven Black Screw |
| 699 | WB1M1 GE Oven Screw |
| 760 | WB1X536 GE Oven Screw |
| 813 | WB1X1261 GE Oven Screw |
| 847 | WB1X1118 GE Oven Screw 6-32T |
| 856 | WB1X1293 GE Oven Screw |
| 909 | WB1X1173 GE Rivet |
| 926 | GROUND WASHER |
| 938 | WB1K5209 GE Oven Clip |
| 999 | DR SW WIRE HARNESS |
| 999 | GEN 49-80105 |
| 999 | GEN WB18T10288 |
| 999 | LOCK MOTOR WIRE HARNESS |
| 1006 | SCR 8/32 TF FLR 5/16 S |