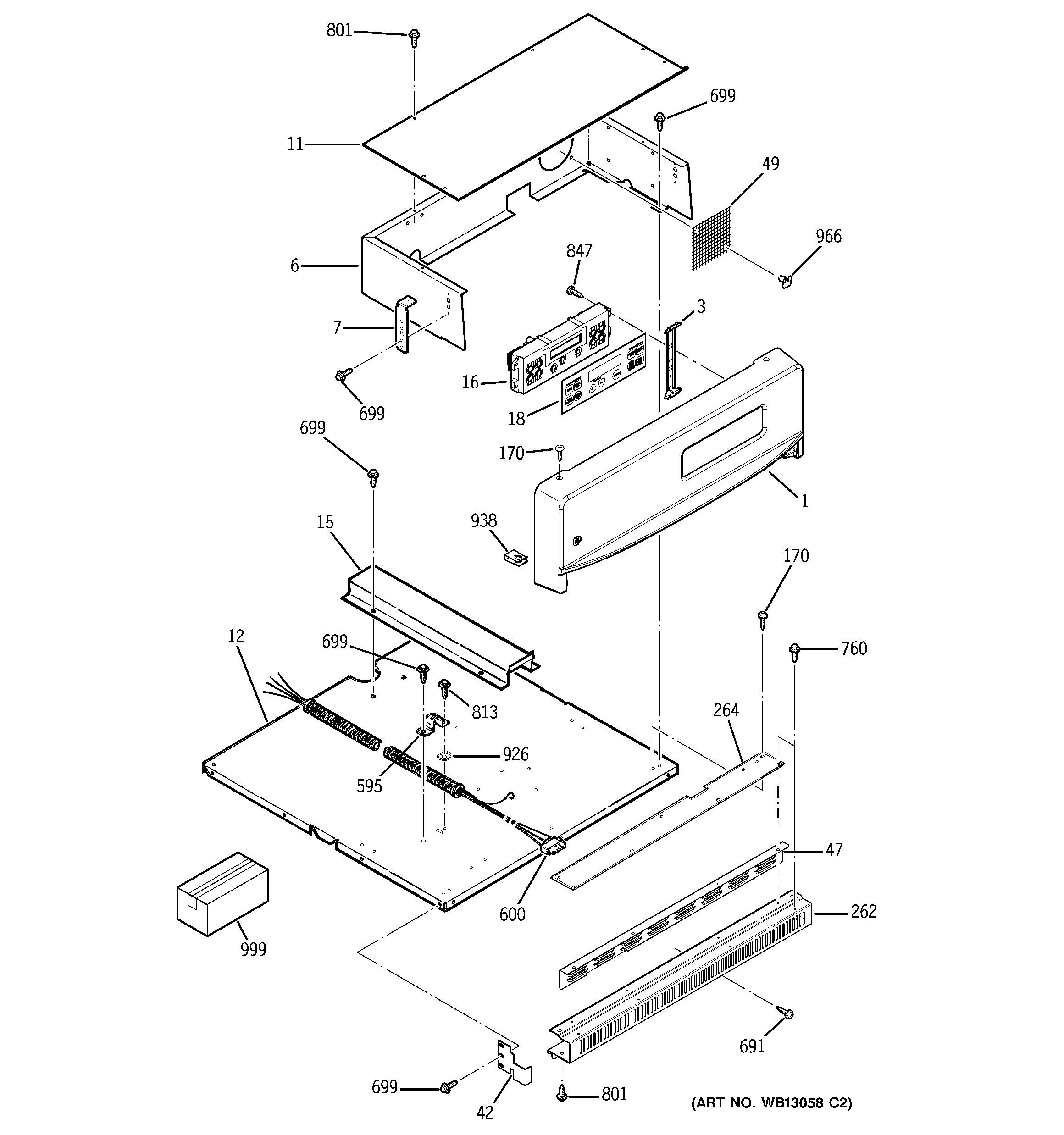
JRS06SK1SS CONTROL PANEL