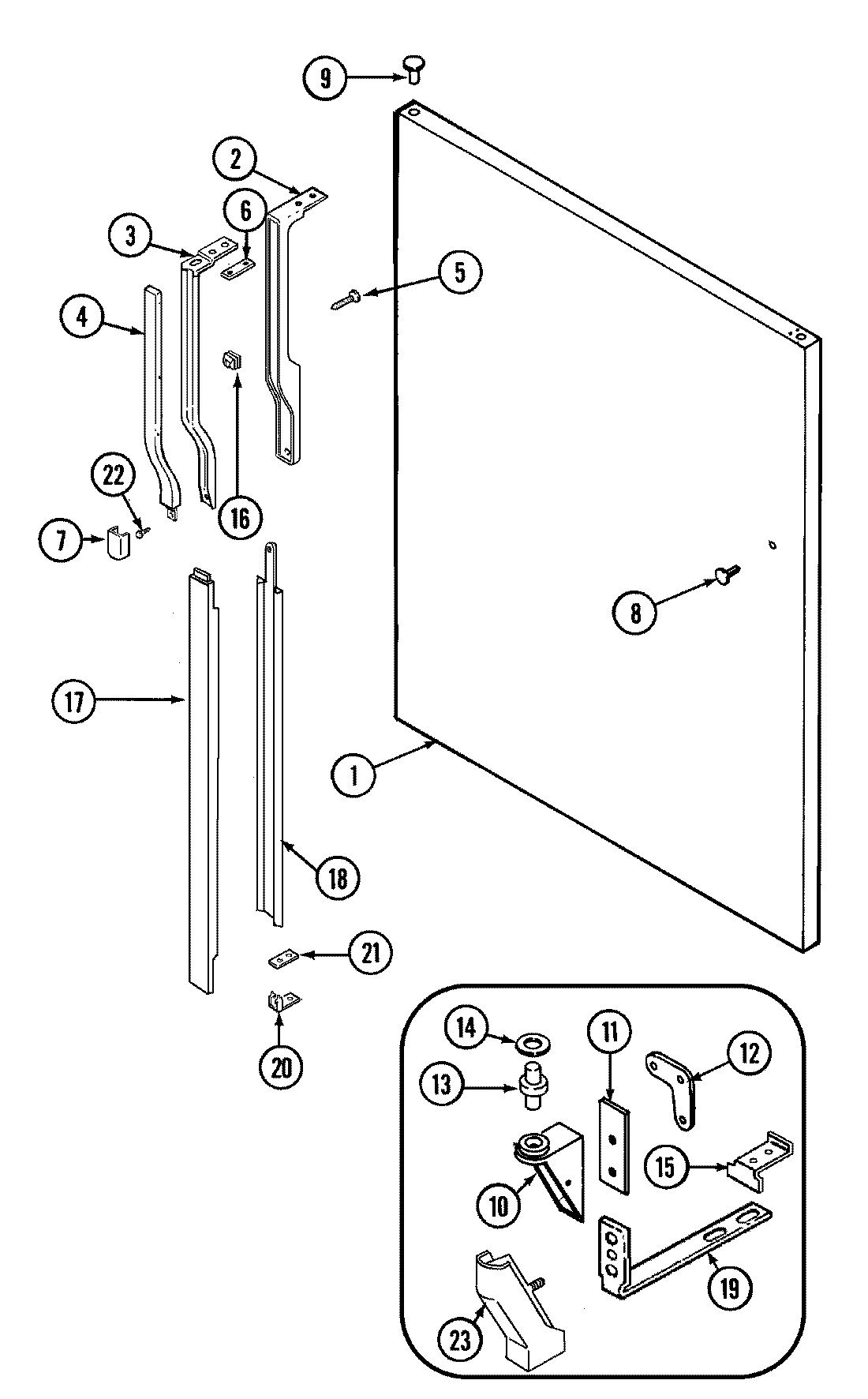
JRT219B 06 – FRESH FOOD OUTER DOORadmin2025-04-26T09:12:17+00:00JRT219B 06 – FRESH FOOD OUTER DOOR ProductsPositionProduct1MAY 72342-1-BK2MAY 70051-23MAY 70052-14MAY 70053-205MAY 415033-17MAY 70057-38MAY 67678-58MAY 69480-59MAY 67634-510MAY 69516-210MAY 65275-5111MAY 69510-112MAY 65275-5912MAY 67874-113MAY 69845-11467483-3 Whirlpool Refrigerator Door Spacer Washer15MAY 69256-215MAY 65275-4816MAY 69743-117MAY 70054-818MAY 70055-219MAY 414012-119MAY 65275-6919MAY 69511-120MAY 70056-120MAY 65275-5721MAY 67934-122MAY 65275-8023MAY 68978-1