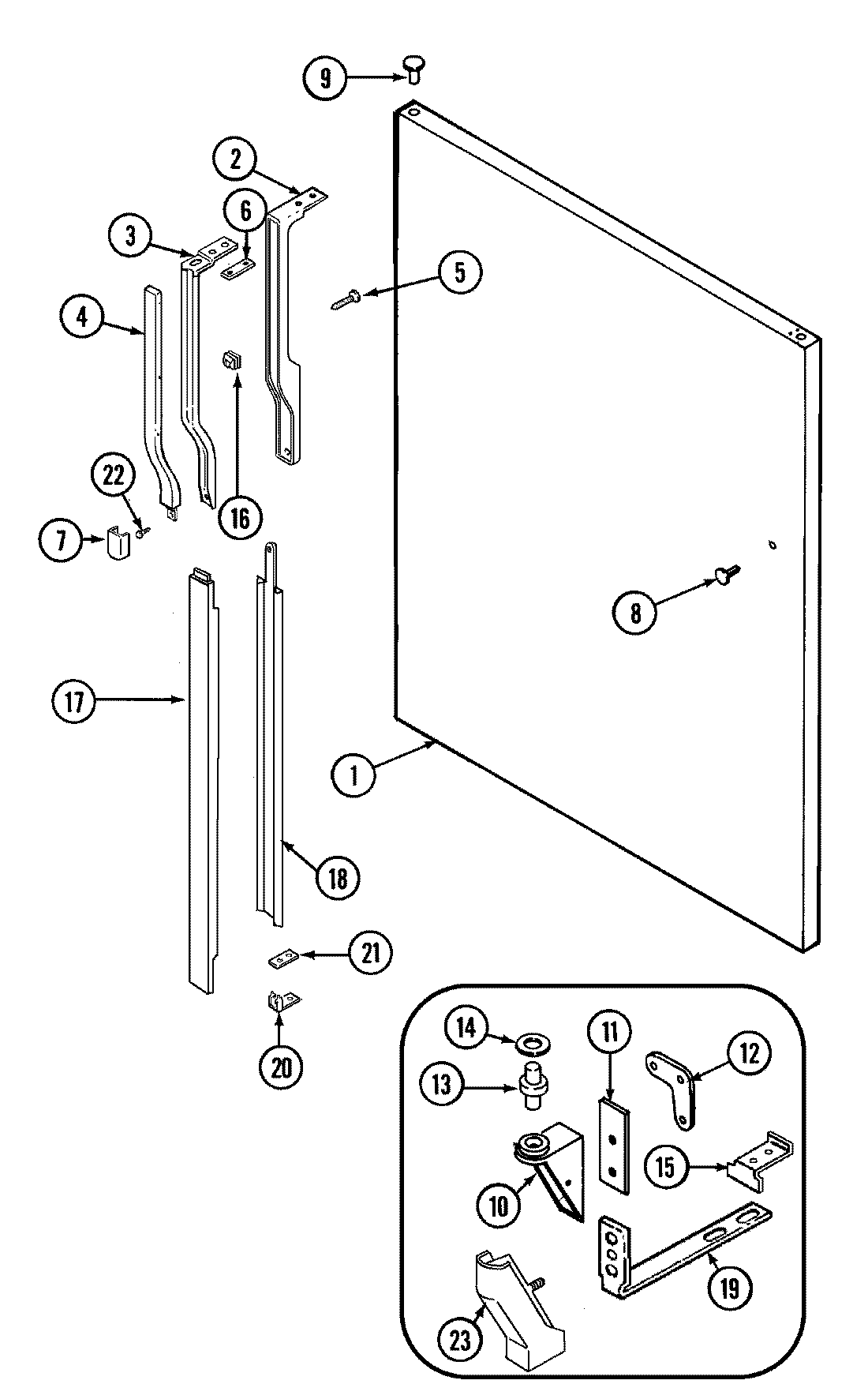
JRT219W 06 – FRESH FOOD OUTER DOORadmin2025-04-26T09:11:01+00:00JRT219W 06 – FRESH FOOD OUTER DOOR ProductsPositionProduct1MAY 72342-1-WW2MAY 70051-23MAY 70052-14MAY 70053-185MAY 415033-17MAY 70057-28MAY 69480-28MAY 67678-29MAY 67634-210MAY 65275-5110MAY 6100158711MAY 69510-112MAY 65275-5912MAY 67874-113MAY 69845-11467483-3 Whirlpool Refrigerator Door Spacer Washer15MAY 69256-215MAY 65275-4816MAY 69743-117MAY 70054-618MAY 70055-219MAY 414012-119MAY 65275-6919MAY 69511-120MAY 70056-120MAY 65275-5721MAY 67934-122MAY 65275-8023MAY 68978-4