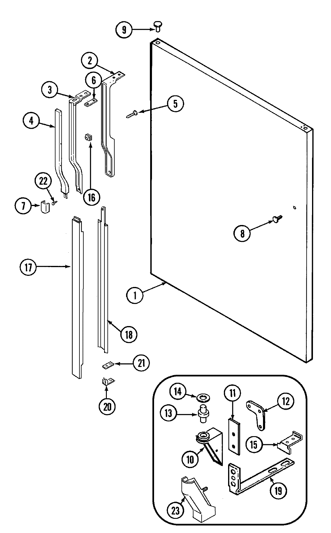
JRTF1950A 06 – FRESH FOOD OUTER DOORadmin2025-04-26T09:12:42+00:00JRTF1950A 06 – FRESH FOOD OUTER DOOR ProductsPositionProduct1MAY 72342-1-AM2MAY 70051-23MAY 70052-14MAY 70053-175MAY 415033-17MAY 610011288MAY 67678-38MAY 69480-49MAY 67634-310MAY 69516-410MAY 65275-5111MAY 69510-112MAY 65275-5912MAY 67874-113MAY 69845-11467483-3 Whirlpool Refrigerator Door Spacer Washer15MAY 69256-215MAY 65275-4816MAY 69743-117MAY 70054-518MAY 70055-219MAY 65275-6919MAY 69511-119MAY 414012-120MAY 70056-120MAY 65275-2221MAY 67934-122MAY 65275-8023MAY 68978-3