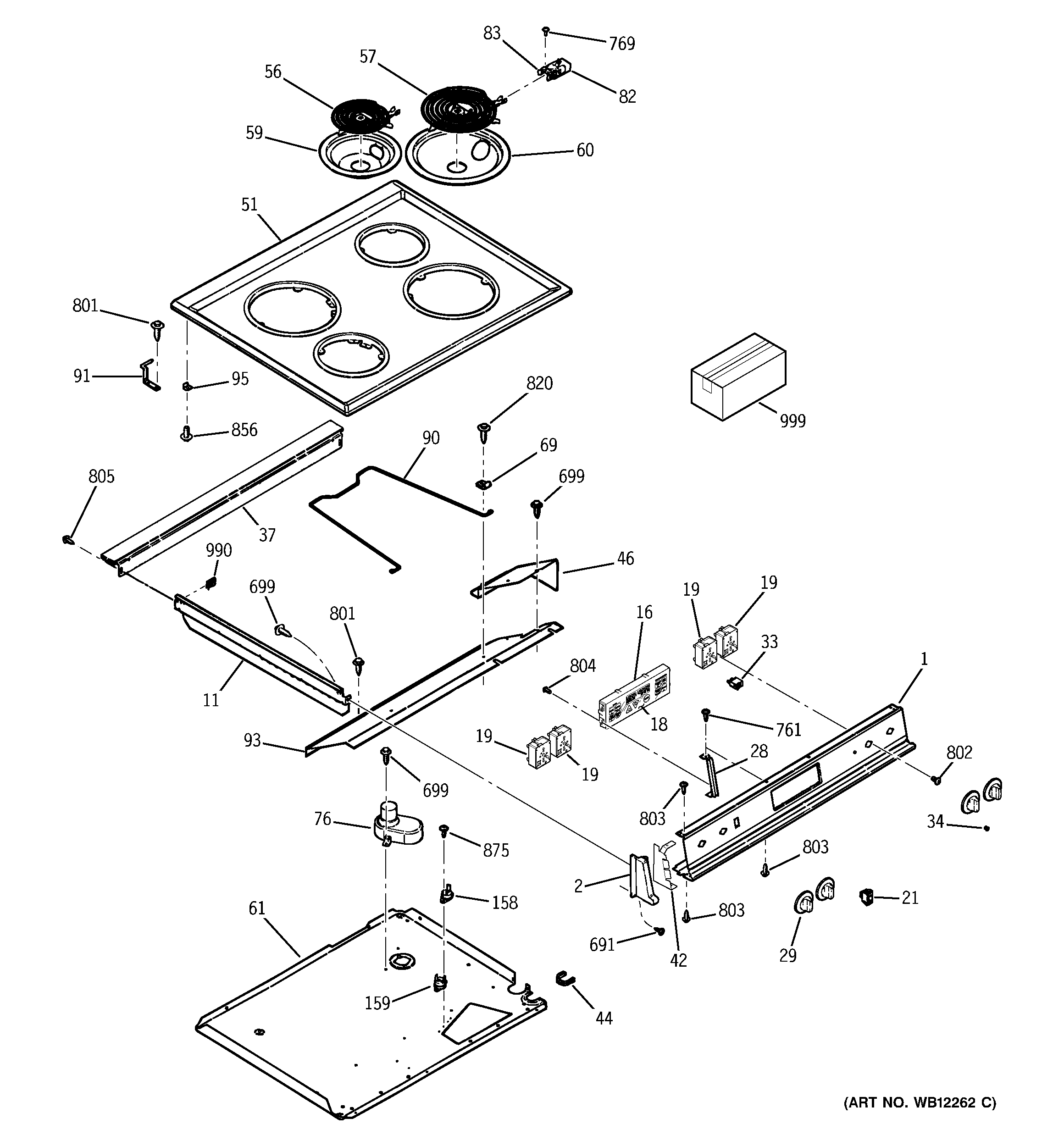
JSP26BD2WH CONTROL PANEL & COOKTOPadmin2025-04-26T10:46:36+00:00JSP26BD2WH CONTROL PANEL & COOKTOP ProductsPositionProduct1CONTROL PANEL-BLACK2GEN WB36K53782GEN WB36K537911SIDE EXTENSION16GEN WB27T1035718WB27K5337 GE Oven Clock Plate Black19WB23K5027 GE Stove Range Oven Infinite Control Burner Switch19WB23M24 GE Stove Range Infinite Switch 1500W Cooktop Surface Burner21GEN WB24X041528GEN WB02K533328WB02T10244 GE Oven Felt Pad29WB3K5242 GE Oven Black Infinite Knob33WB25T10040 GE Oven Light Indicator34LENS37GEN WB36K557942GEN WB34K525142GEN WB34K525042UNKNOWN44UNKNOWN46UNKNOWN51GEN WB62K514556WB30M1 GE Oven Range Cooktop Burner Unit 6 Inch57WB30M2 GE Oven Range Stove Cooktop Burner Unit 8 Inch59WB31T10010 GE Oven 6" Chrome Burner Drip Bowl60WB31T10011 GE Oven 8" Chrome Drip Bowl Burner61GEN WB64T1000769WB2M87 GE Oven Support Rod Clamp76UNKNOWN82WB17T10006 GE Oven Burner Receptacle Block83GEN WB01T1001490UNKNOWN91UNKNOWN91UNKNOWN93GEN WB34T1000895WB10X255 GE Oven Hinge Bracket158GEN WB24K5086159UNKNOWN691WB1K5162 GE Oven Black Screw691GEN WB01K5163699WB1M1 GE Oven Screw761WB1K5062 GE Oven Screw769WB1X500D GE Oven Screw Package802GEN WB01K5123803WB1X1149 GE Oven Screw804WB1X681 GE Oven Screw805GEN WB01X1113820WB1X1424D GE Oven Screw Package856WB1X1293 GE Oven Screw875WH2X930 GE Screw990GEN WB01X1432999GEN 31-10070999GEN 31-10026999GEN 31-10197999GEN SR10099999GEN 31-13756999MANUAL USE & CARE999GEN 31-13997