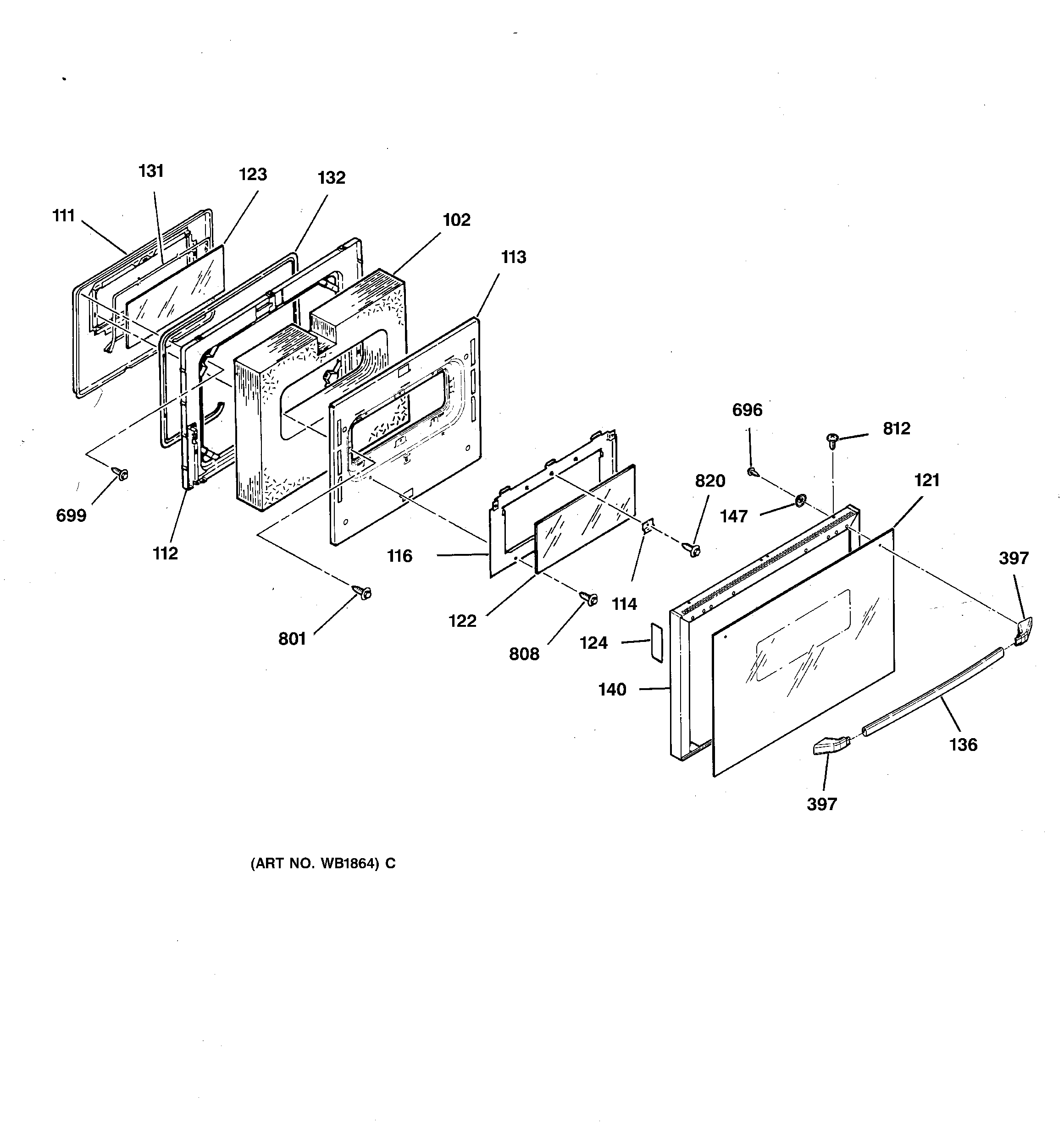
| 102 | OVEN DOOR INSULATION |
| 111 | GEN WB55K5037 |
| 112 | GEN WB55K5038 |
| 113 | INSULATION RETAINER |
| 114 | GEN WB02M0001 |
| 116 | GEN WB02X9178 |
| 121 | GEN WB57K5234 |
| 122 | GEN WB57K5141 |
| 123 | CENTER GLASS |
| 124 | GEN WB35K5104 |
| 131 | WB2X9168 GE Oven Seal |
| 132 | WB2K5319 GE Oven Door Gasket |
| 136 | GEN WB15T10031 |
| 140 | GEN WB55K5053 |
| 147 | GEN WB02K5312 |
| 397 | GEN WB07K5319 |
| 699 | WB1M1 GE Oven Screw |
| 808 | WB1X1116 GE Oven Screw |
| 812 | WB1K5191 GE Oven Zinc FL Screw |
| 820 | WB1X1424D GE Oven Screw Package |