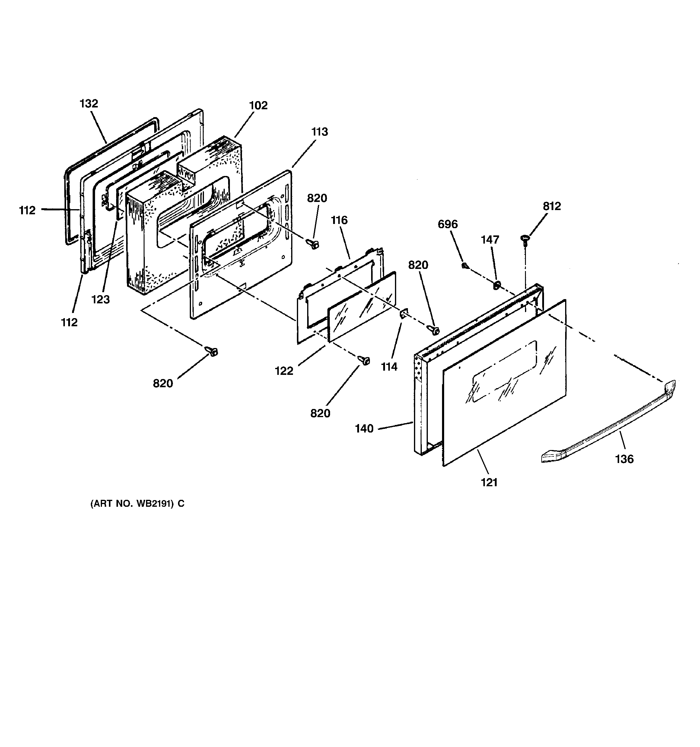
JSP26BW4WH DOOR