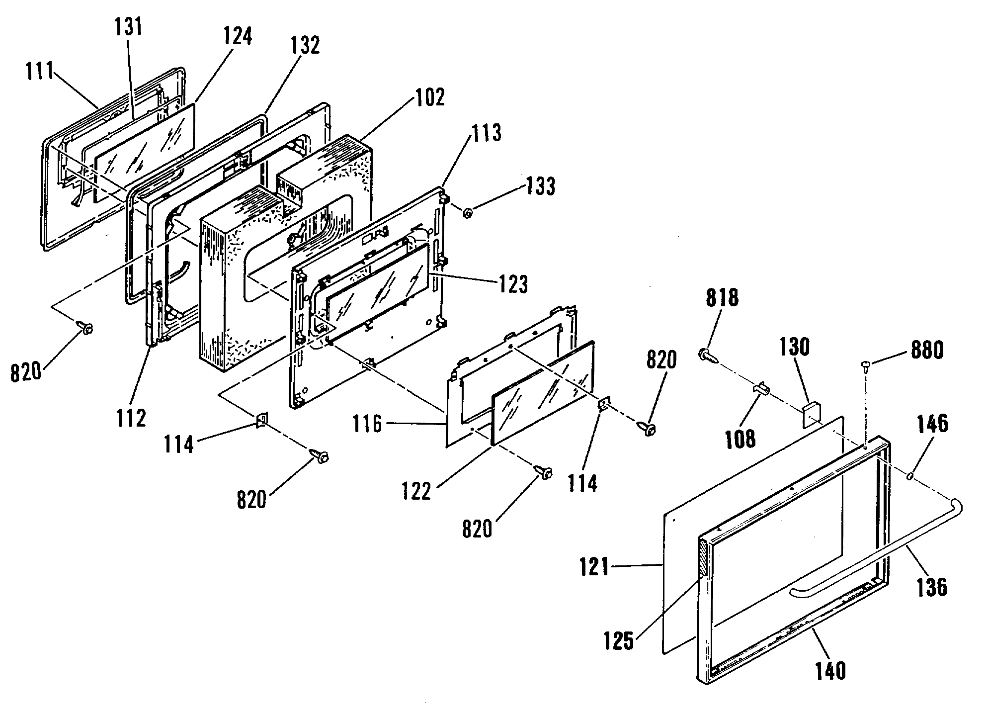
| 102 | OVEN DOOR INSULATION |
| 111 | GEN WB55M0010 |
| 112 | UNKNOWN |
| 113 | INSULATION RETAINER |
| 114 | GEN WB02M0001 |
| 116 | GEN WB02X9178 |
| 121 | GEN WB57K5183 |
| 122 | OV DR INTERMEDIATE GLASS |
| 123 | CENTER GLASS |
| 124 | OV DR INNER GLASS |
| 125 | OV DR OVERLAY |
| 130 | GEN WB02K5150 |
| 131 | WB2X9168 GE Oven Seal |
| 132 | WB2X9373 GE Oven Gasket |
| 133 | FELT WASHER |
| 136 | GEN WB15K5024 |
| 140 | GEN WB56K5023 |
| 140 | GEN WB56M0006 |
| 146 | GEN WB02M0046 |
| 146 | GEN WB02K5151 |
| 818 | GEN WB01X1250 |
| 820 | WB1X1424D GE Oven Screw Package |
| 880 | WB1K5191 GE Oven Zinc FL Screw |