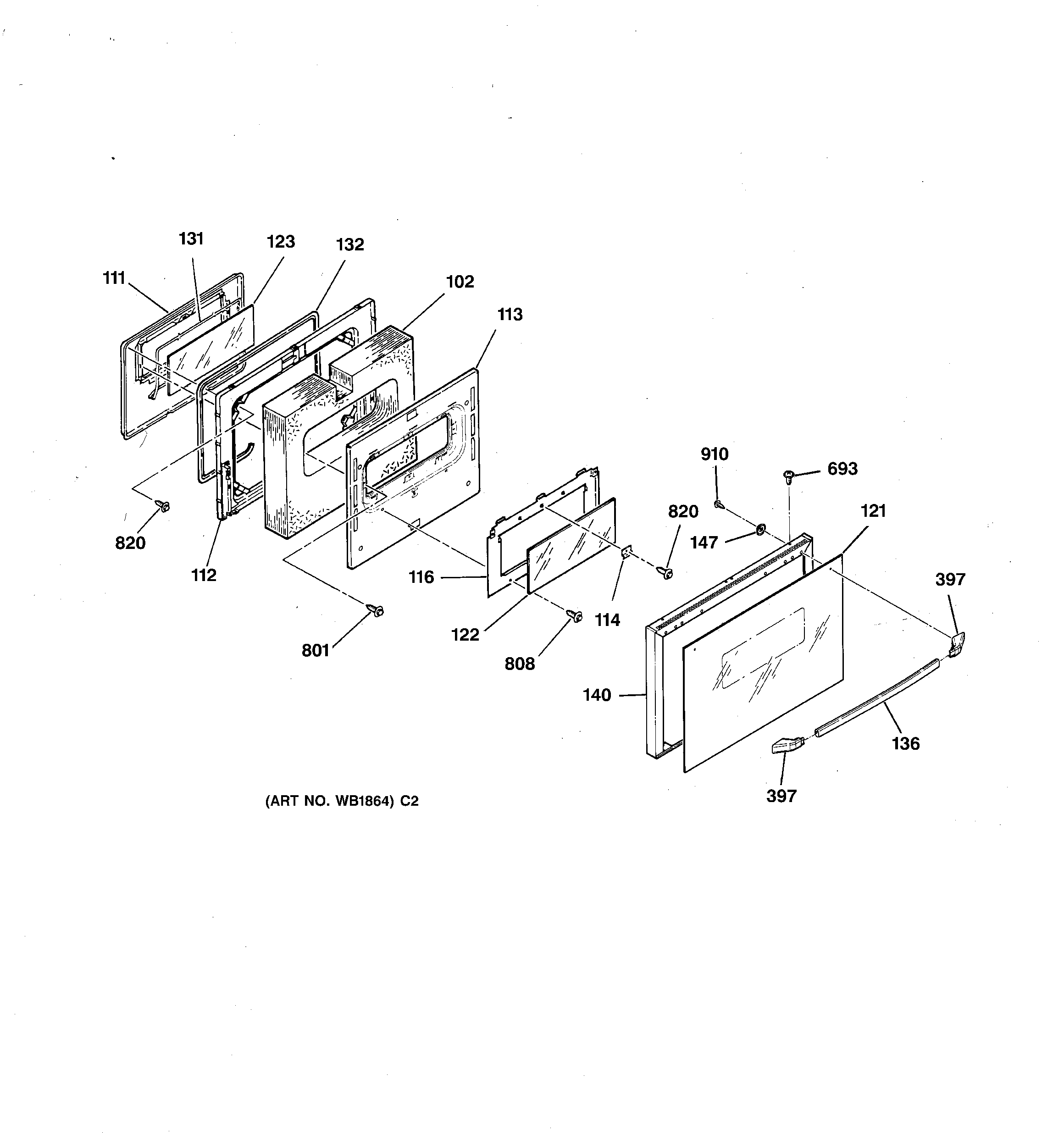
JSP28GV1BB DOOR