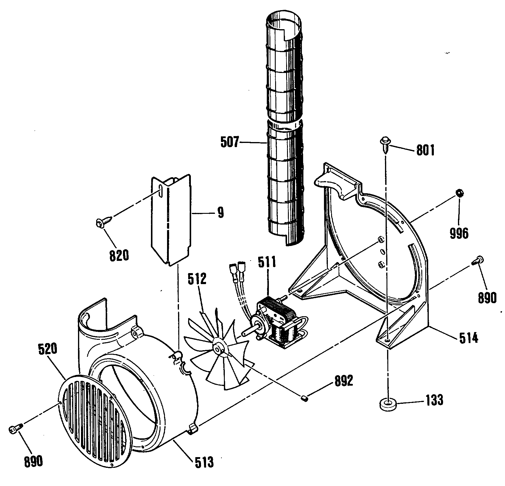
JSP31GN2 1