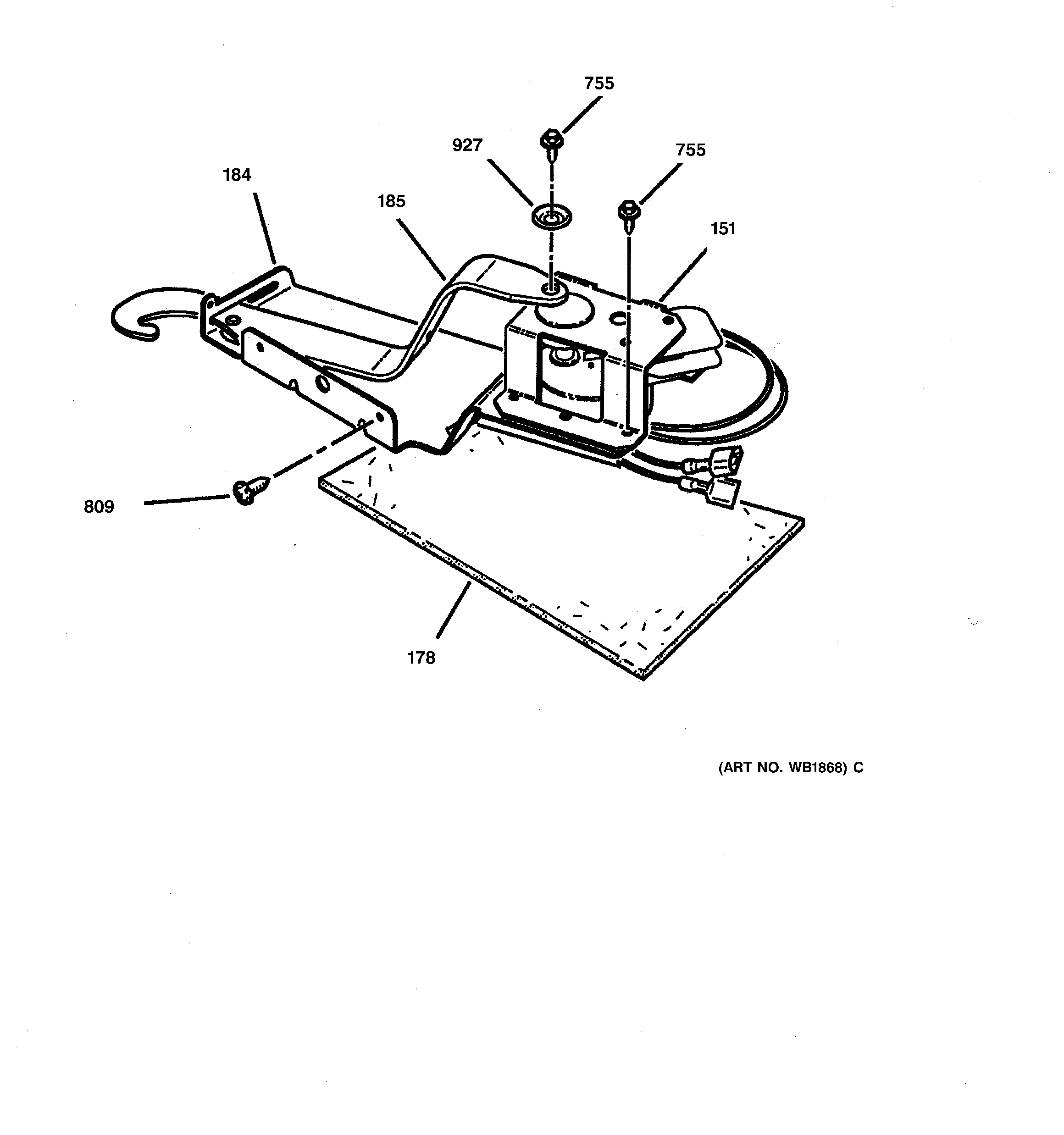
JSP34AW3AA DOOR LOCKadmin2025-04-26T10:48:11+00:00JSP34AW3AA DOOR LOCK ProductsPositionProduct151WB49T10020 GE Stove Range Oven Lock Motor Latch Assembly178UNKNOWN184WB34K5228 GE Oven Door Lock Plate185WB15K5016 GE Oven Lock Lever Assembly755WZ4X44D GE Screw Package809WB1X1137 GE Oven Screw927WB1X119D GE Oven Range Washer