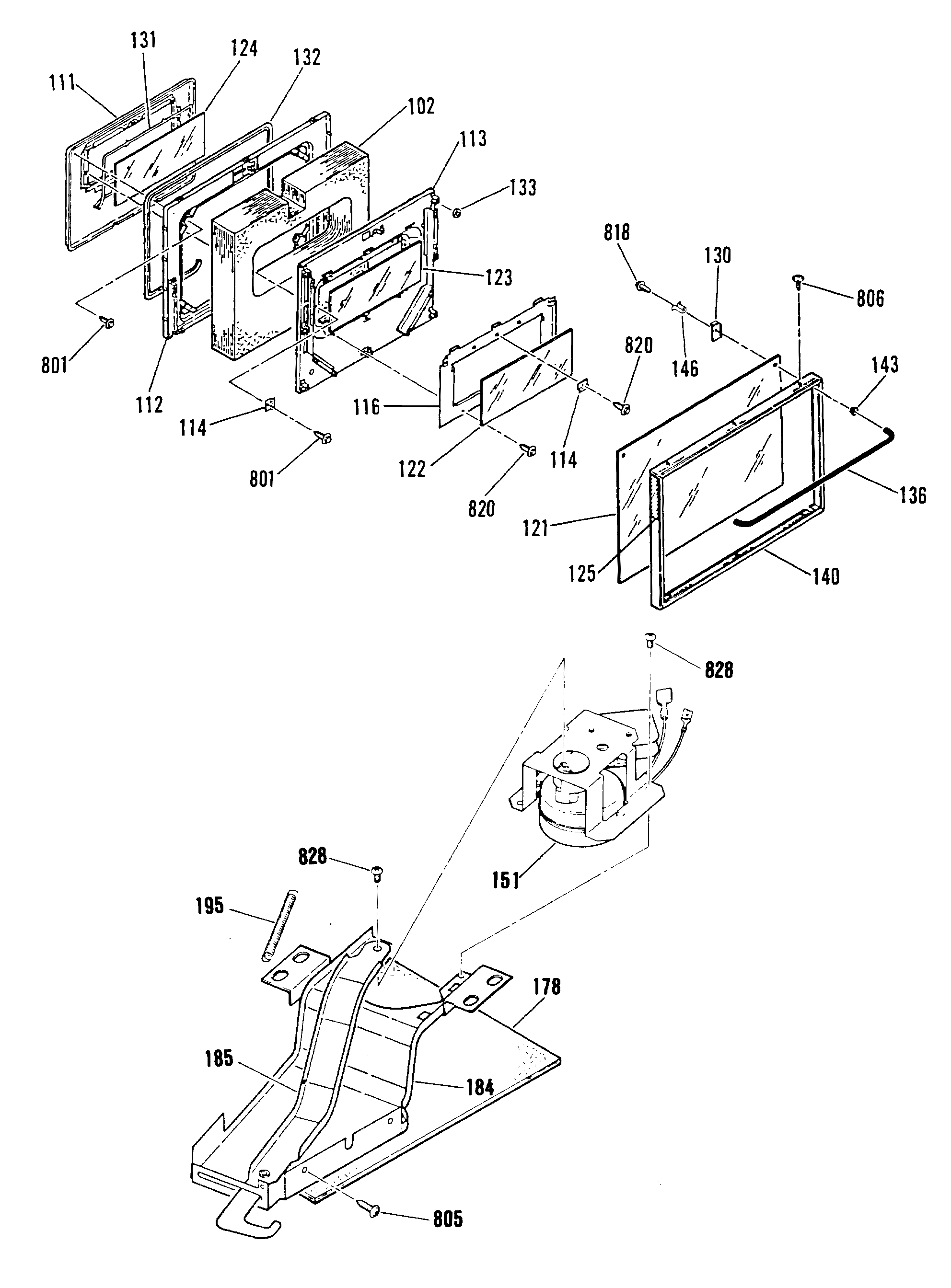
| 102 | OV DOOR INSULATION |
| 111 | GEN WB55M0010 |
| 112 | UNKNOWN |
| 113 | INSULATION RETAINER |
| 114 | GEN WB02M0001 |
| 116 | GEN WB02X9178 |
| 121 | UNKNOWN |
| 122 | OV DR INTERMED GLASS-UP |
| 123 | CENTER GLASS |
| 124 | OV DR INNER GLASS |
| 125 | OV DR OVERLAY |
| 130 | GEN WB02M0045 |
| 131 | WB2X9168 GE Oven Seal |
| 132 | WB2X9373 GE Oven Gasket |
| 133 | FELT WASHER |
| 136 | GEN WB15M0007 |
| 140 | GEN WB56M0014 |
| 140 | OV DR FRAME W/OVERLAY |
| 143 | GEN WB02X0059 |
| 146 | GEN WB02M0046 |
| 151 | UNKNOWN |
| 178 | UNKNOWN |
| 178 | GEN WB35M0015 |
| 184 | UNKNOWN |
| 195 | GEN WB09X0243 |
| 801 | WB1M1 GE Oven Screw |
| 805 | GEN WB01X1113 |
| 818 | GEN WB01X1250 |
| 820 | WB1X1424D GE Oven Screw Package |
| 828 | WB1X1141 GE Oven Screw 8-32 |