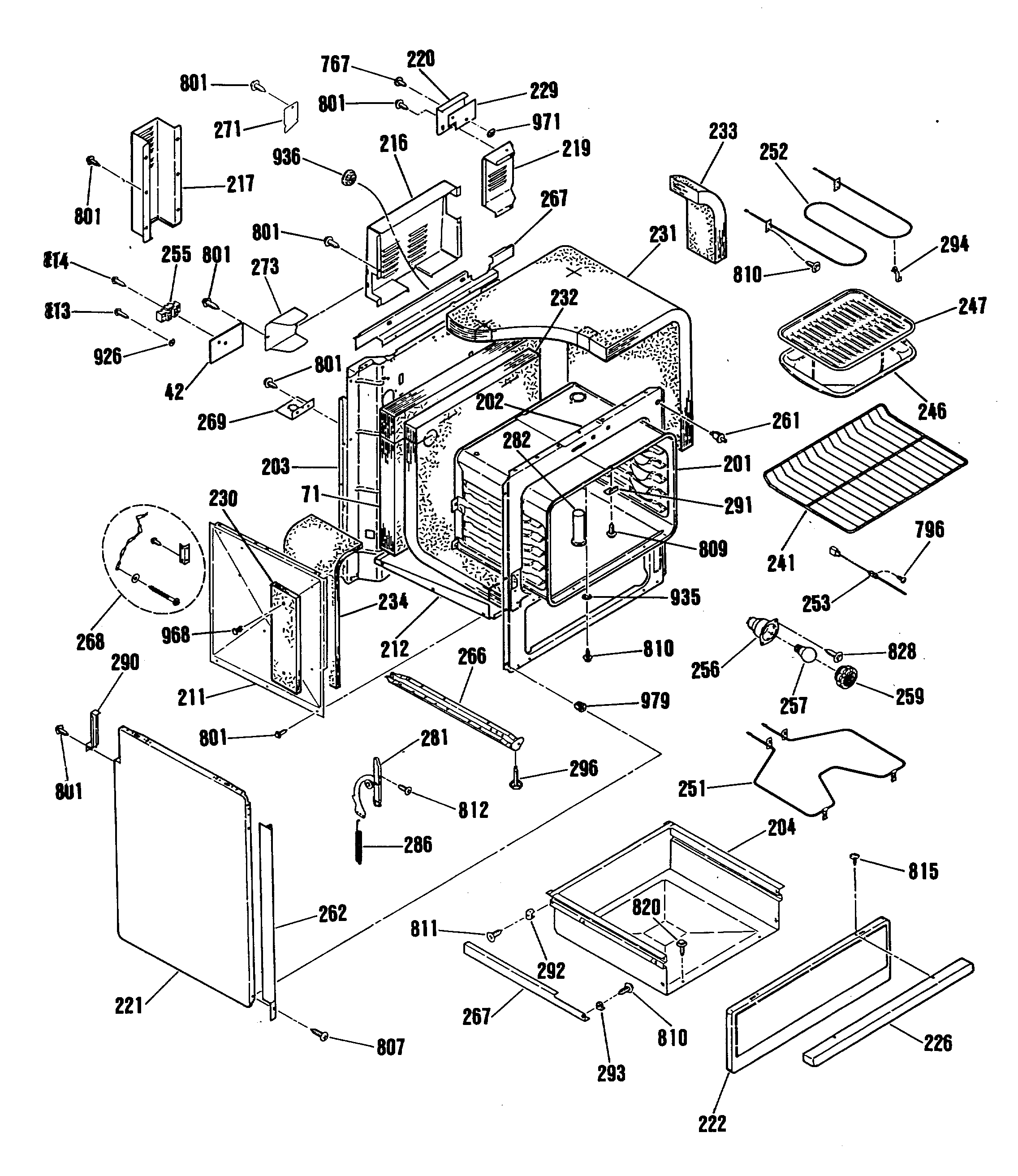
JSP39GR2WG 2

JSP39GR2WG 2

Products

PositionProduct
42UNKNOWN
71GEN WB35K5075
113UNKNOWN
114GEN WB02M0001
201GEN WB63K5109
202GEN WB63M0057
203GEN WB63M0056
204GEN WB58X0065
211GEN WB02M0004
212GEN WB02K5093
216UNKNOWN
217UPPER WIRE COVER
219GEN WB34K5174
220GEN WB34K5175
221GEN WB63M0058
221GEN WB63M0024
222GEN WB56K5017
226GEN WB15K5010
229GEN WB35K5085
230GEN WB35M0014
231GEN WB02X9676
232INSULATION BACK & BOTTOM
233INSULATION-TOP SIDES
234OV SIDE FRT INSULATION
241GEN WB48X0208
246WB48X10056 GE Broil Pan Set, Large Porcelain
251WB44K5012 GE Oven Bake Element
252WB44X232 GE Oven Broil Element
253WB21X5301 GE Range Stove Oven Temperature Sensor Probe 6" Length
255WB17X5095 GE Black Oven Terminal
256GEN WB08M0003
257GEN BUY-LOCAL
259OVEN LAMP LENS
261WB24T10147 GE Oven SPDT Light Switch
262GEN WB07M0018
262UNKNOWN
262UNKNOWN
266BASE ASM W/LEVERS
267GEN WB56M0003
267GEN WB02M0080
268WB2X7909 GE Oven Anti-Tip Kit
269SERVICE RANGE MTG PLATE
271UNKNOWN
273GEN WB34M0027
281WB14X104 GE Stove Range Oven Right Hand Door Hinge
281WB14X103 GE Range Oven Left Door Hinge
282GEN WB38M0014
286OV DR SPRING
290GEN WB63M0021
291GEN WB02X9152
292GEN WB02X9146
293GEN WB02X9148
294WB2X9719 GE Oven Support Bracket Clip
296GEN WB01M0018
767SCREW
796WB1K5116 GE Oven Screw
801WB1M1 GE Oven Screw
807WB01X32746 GE Oven Screw ST 8A8 X .625 TR NI
809WB1X1137 GE Oven Screw
810WB1X1130 GE Oven Screw 10-32
811GEN WB01X1172
812WB1K5191 GE Oven Zinc FL Screw
815SCREW
820WB1X1424D GE Oven Screw Package
828WB1X1141 GE Oven Screw 8-32
828SCREW
926GROUND WASHER
935GEN WB01X1201
936GEN WB02M0021
968GEN WB02X9393
971GEN WB01M0025
979SPACER