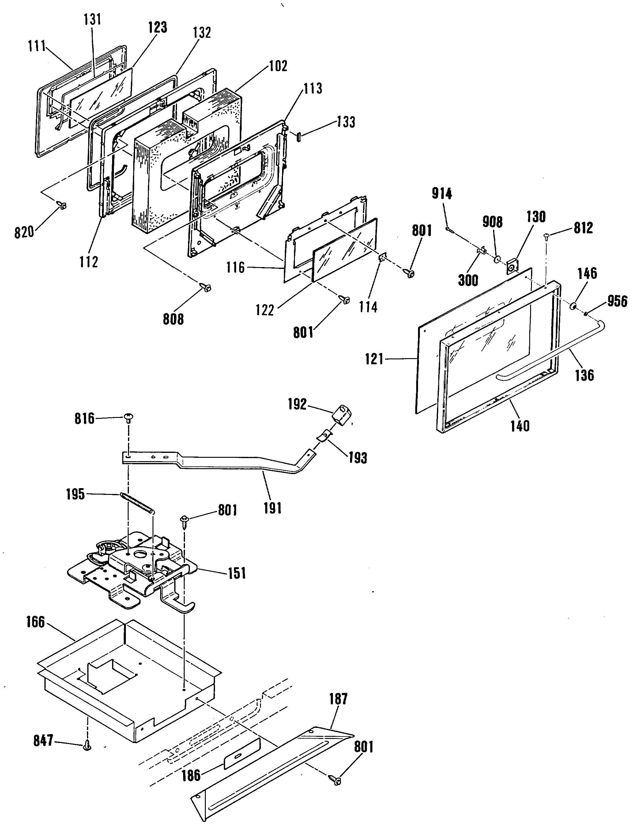
| 102 | INSULATION OV BTM & BACK |
| 111 | UNKNOWN |
| 112 | GEN WB56K5026 |
| 113 | GEN WB02M0056 |
| 114 | GEN WB02M0001 |
| 116 | GEN WB02X9178 |
| 121 | GEN WB57K5071 |
| 122 | GEN WB57K5141 |
| 123 | CENTER GLASS |
| 130 | GEN WB02K5276 |
| 131 | WB2X9168 GE Oven Seal |
| 132 | WB2X9373 GE Oven Gasket |
| 133 | FELT WASHER |
| 136 | GEN WB15K5024 |
| 140 | GEN WB56M0013 |
| 146 | GEN WB02K5277 |
| 146 | REAR WIRE COVER SPACER |
| 151 | GEN WB10X0268 |
| 166 | GEN WB58M0002 |
| 186 | GEN WB34M0032 |
| 187 | GEN WB34M0033 |
| 191 | LOCK HANDLE |
| 192 | LOCK KNOB |
| 193 | KNOB CLIP |
| 195 | LOCK SPRING |
| 300 | UNKNOWN |
| 300 | GEN WB02M0049 |
| 801 | WB1M1 GE Oven Screw |
| 816 | GEN WB01X1125 |
| 820 | WB1X1424D GE Oven Screw Package |
| 847 | WB1X1118 GE Oven Screw 6-32T |
| 908 | GEN WB01K5143 |
| 956 | GEN WB01K5145 |