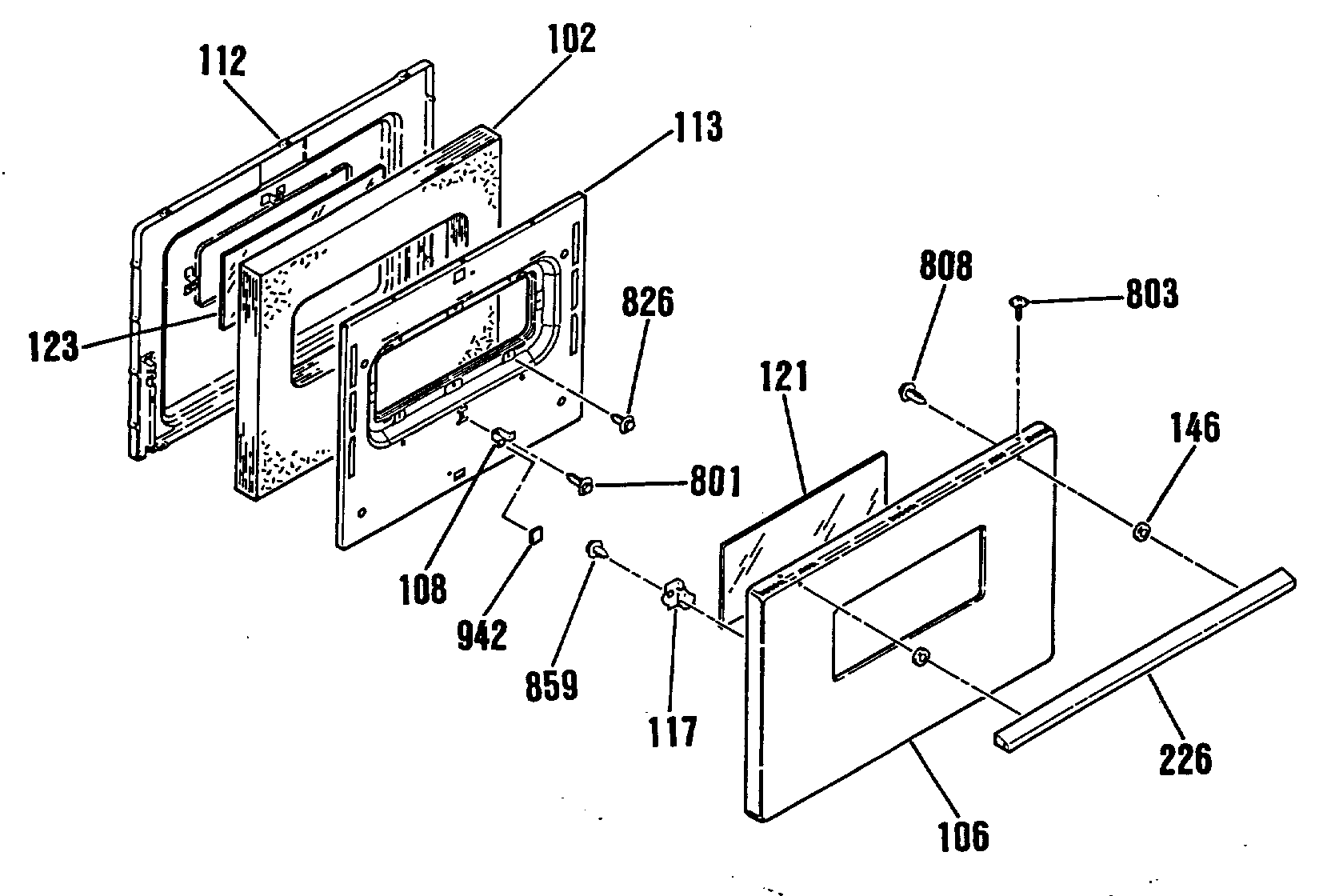
JSS16P2AD 1admin2025-04-26T08:46:10+00:00JSS16P2AD 1 ProductsPositionProduct102OVEN DOOR INSULATION106GEN WB56K5148108GEN WB02X9190112GEN WB55M0008113GEN WB02X9191117GEN WB02X9192121GEN WB56X1912123OVEN DOOR GLASS-CENTER146DOOR HANDLE SPACER-BLACK226LOWER DOOR HANDLE801WB1M1 GE Oven Screw803WB1X1149 GE Oven Screw808WB1X1116 GE Oven Screw826GEN WB01X1167859GEN WB01X1186942GEN WB01X1140