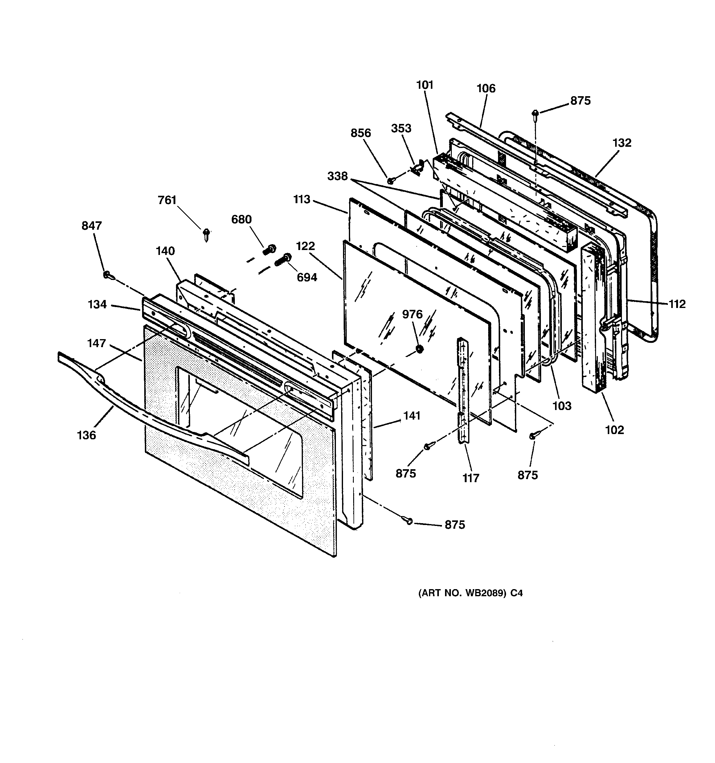
JT910SA3SS DOOR