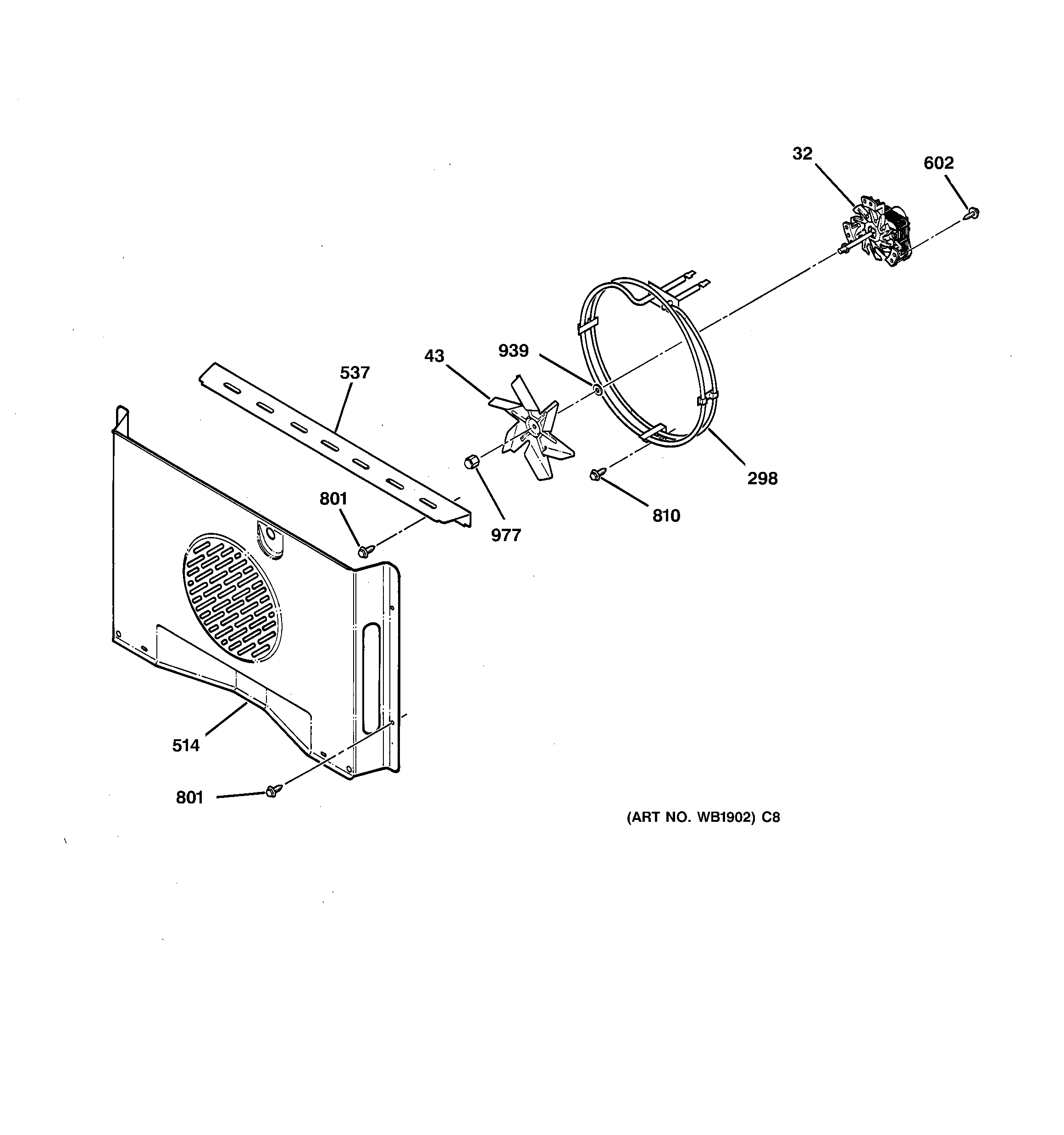
JT950AA2AA FAN