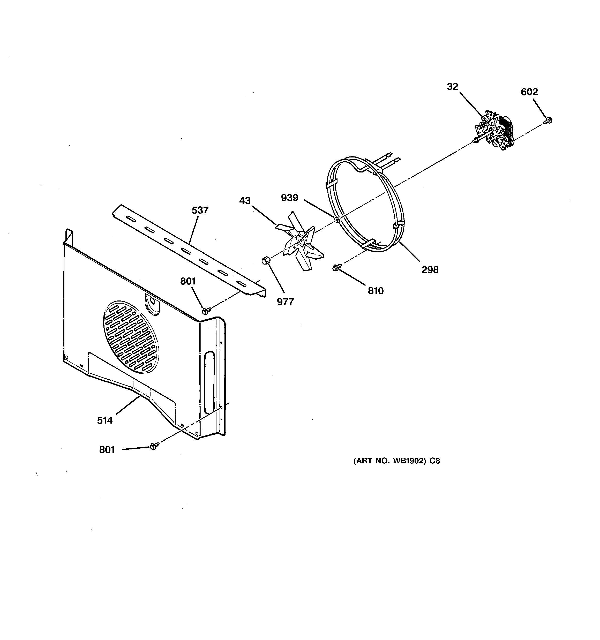
JT950BA2BB FAN