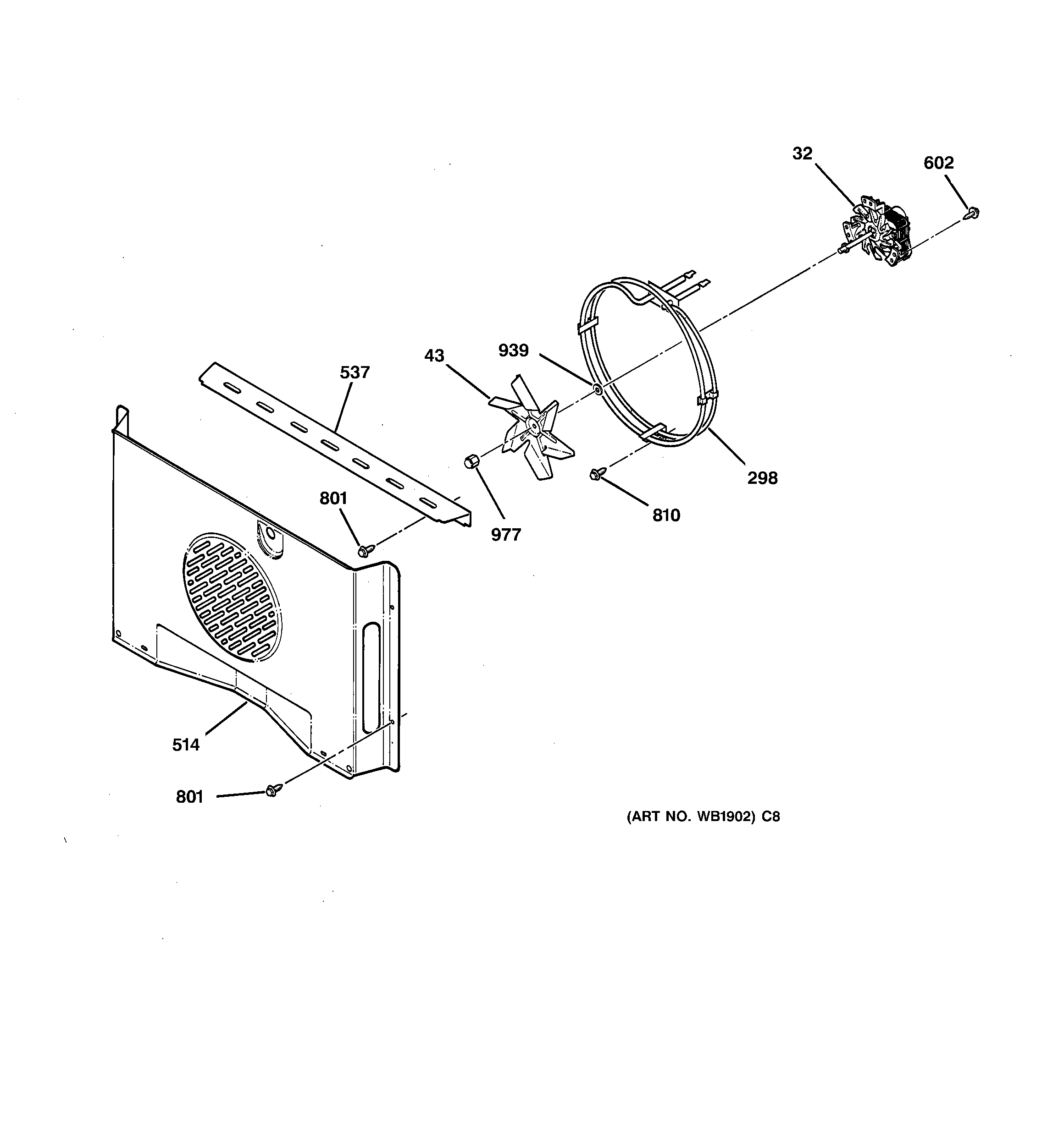
JT950CA1CC FAN