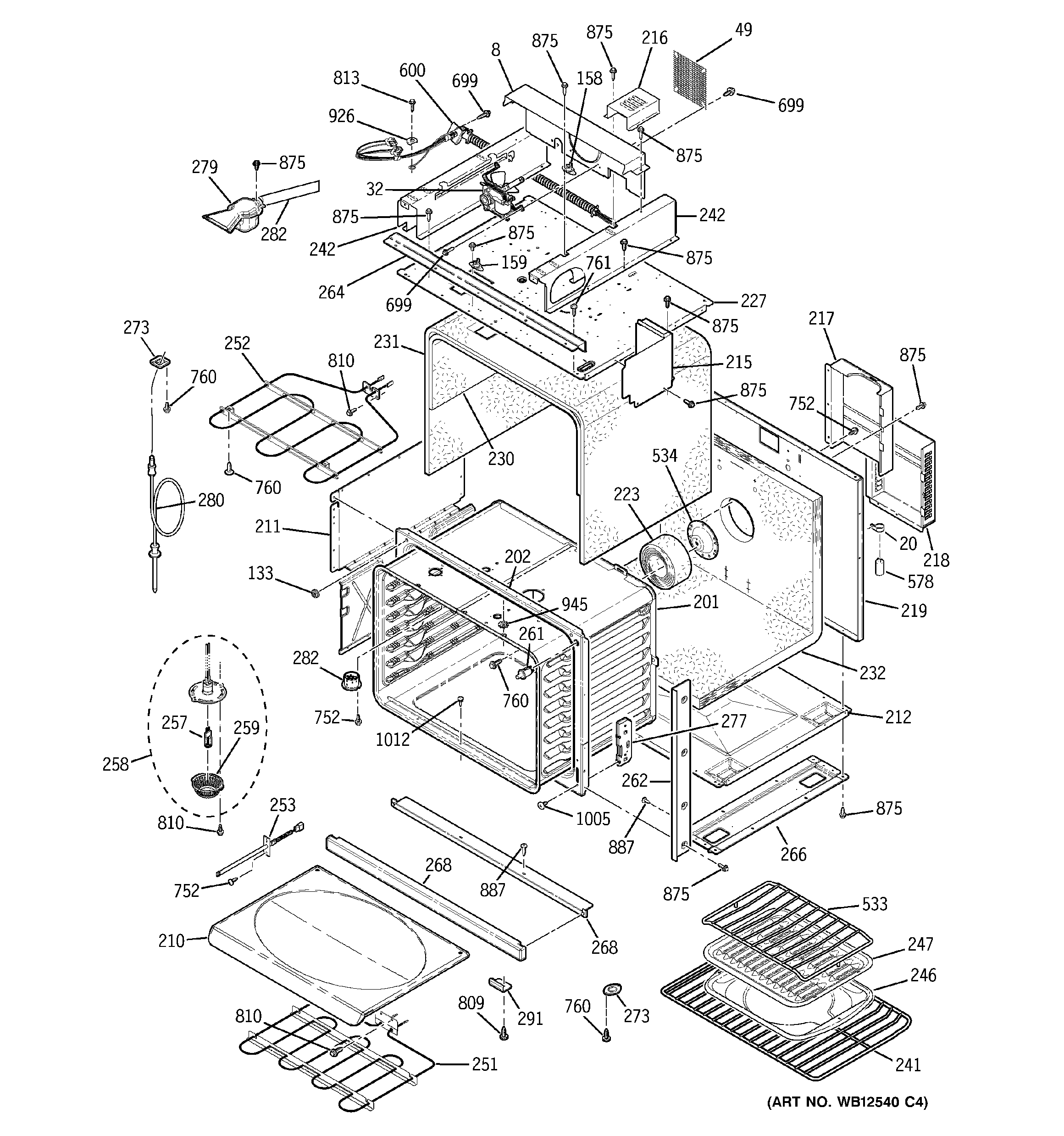
JT965WF4WW BODY WITH MICROWAVE SUPPORT

JT965WF4WW BODY WITH MICROWAVE SUPPORT

Products

PositionProduct
8GEN WB02T10173
20WB02T10152 GE Oven Motor Capacitor Bracket
32WB26T10018 GE Oven Fan Motor
49WB34T10091 GE Oven Fan Screen
133WB01T10022 GE Oven Door Bumper
133WB03T10156 GE Oven Door Bumper
158GEN WB24T10076
159WB24T10060 GE Oven Safety Thermostat
201WRAPPER OVEN CAV ASSY LO
202WB63T10083 GE Front Lower Frame
210WB63T10034 GE Oven Bottom
211GEN WB02K5306
212GEN WB02T10143
215GEN WB34T10009
216GEN WB34K5234
217WIRE COVER UPR RR
218WIRE COVER LWR RR
219GEN WB56T10136
223WB35T10090 GE Oven Back & Bottom Insulation
227WB02T10343 GE Ran Insulation Retainer - Lower
230GEN WB35T10073
231WB35T10074 GE Oven Lower Insulation
232GEN WB35T10123
241RACK OVEN
242GEN WB02K5385
242GEN WB02T10225
246WB49X690 GE Oven Glass Tray
246WB48X10056 GE Broil Pan Set, Large Porcelain
251BAKE ELEMENT
252WB44T10043 GE Oven Broil Unit Assembly
253WB23T10015 GE Oven Sensor Probe
257WB49X29679 GE Range Halogen Bulb Kit
257GEN WB08X10012
258GEN WB25T10026
259WB25T10027 GE Oven Lens Lamp
261GEN WB24T10065
261GEN WB24T10111
262GEN WB07T10494
262GEN WB07T10493
264GEN WB07T10252
266WB02K10048 GE Base Rail
268GEN WB07T10426
268TRIM BTM 30 (WHT)
273GEN WB02K5365
277GEN WB10T10053
279WB38T10019 GE Oven Vent Box Assembly
280WB20T10024 GE Oven Thermistor Probe
282WB38X33650 GE Vent Tube
282GEN WB28T10076
291GEN WB02X9152
533WB48X5108 GE Oven Roasting Rack
534WB26T10015 GE Oven Cavity Support
578GEN WB27T10503
600GEN WB18T10272
699WB1M1 GE Oven Screw
752WB1K5200 GE Oven Screw 340531
760WB1X536 GE Oven Screw
761WB1K5029 GE Oven Screw
809WB1X1137 GE Oven Screw
810WB1X1130 GE Oven Screw 10-32
813WB1X1261 GE Oven Screw
875WH2X930 GE Screw
887WB1K5172 GE Oven Screw
926GROUND WASHER
945WB1K5046 GE Oven Washer
1005WB01T10008 GE Oven Screw 10-32
1012WB01T10048 GE Oven Type A Shoulder Screw 10-16