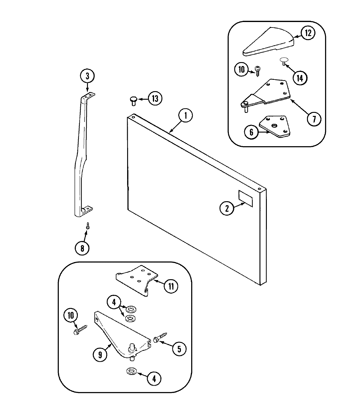
JTB2488AEB 05 – FREEZER OUTER DOOR