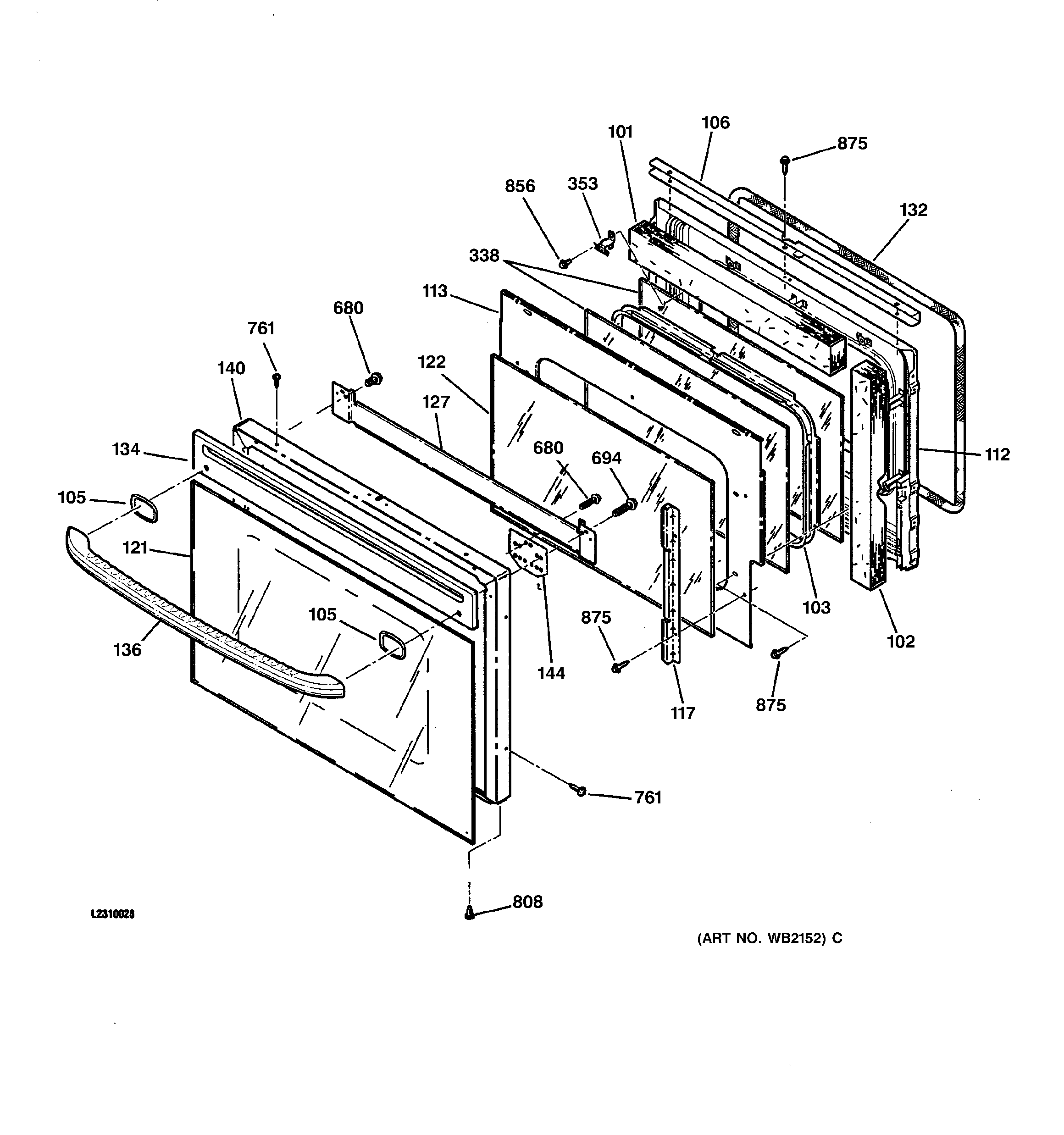
JTP15AA1AA DOOR