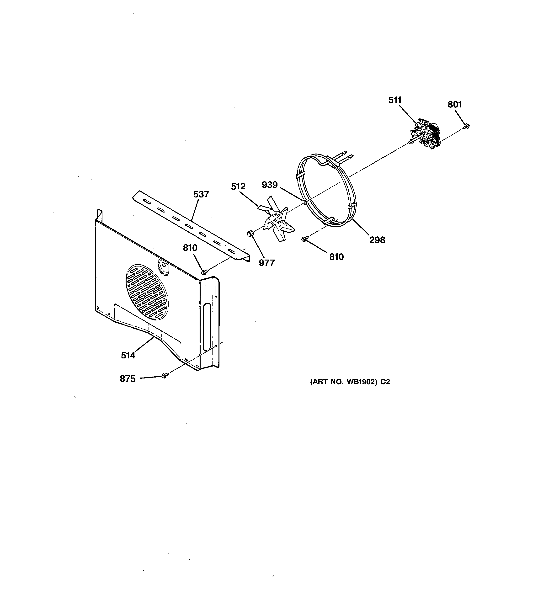
JTP16GV1BB BLOWER