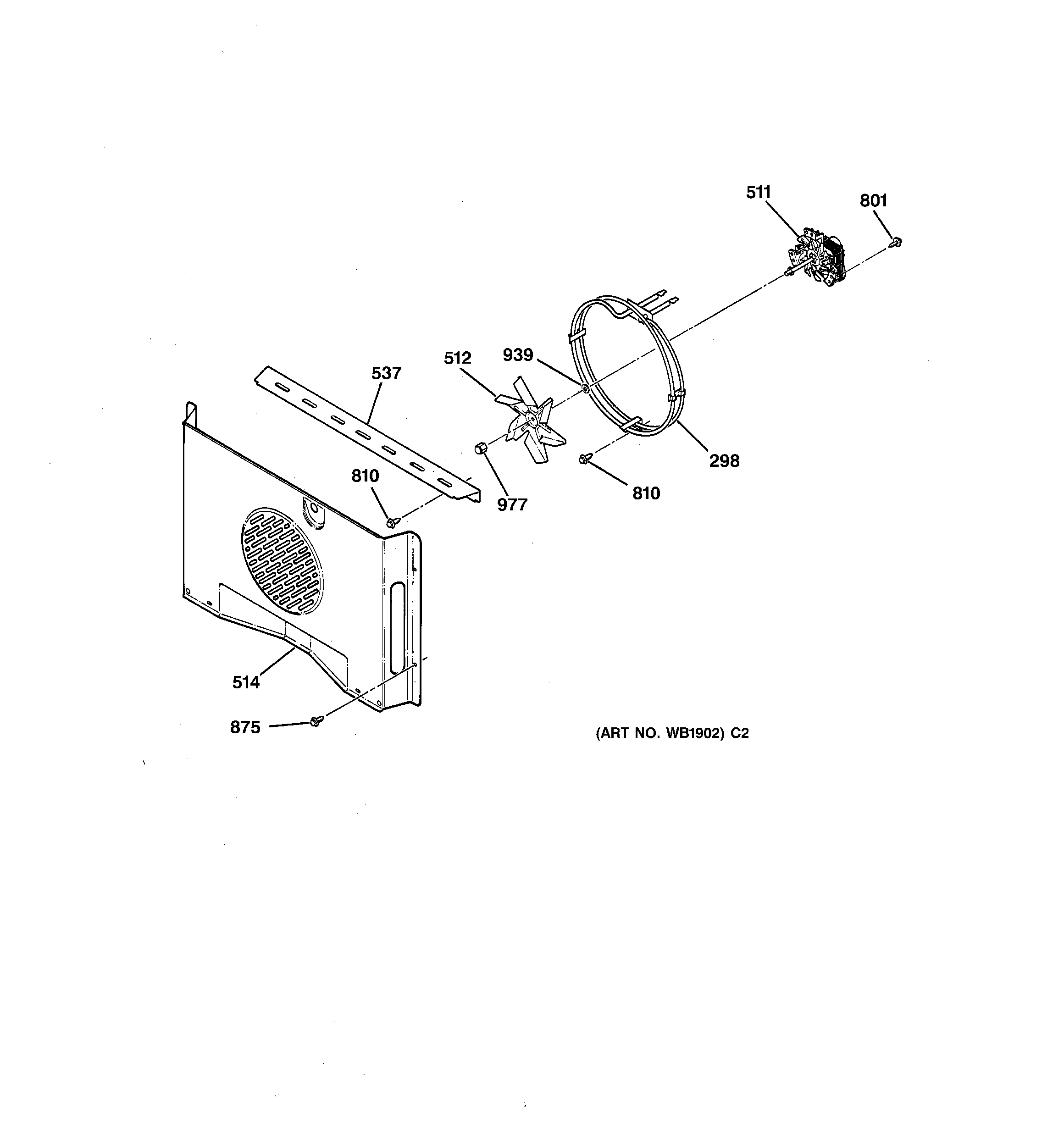
| 298 | WB44T10053 GE Oven Convection Element |
| 511 | WB26K5069 GE Oven Convection Fan Motor |
| 512 | WB2X8351 GE Oven Blade Fan |
| 514 | GEN WB26K5055 |
| 537 | GEN WB26K5054 |
| 801 | WB1M1 GE Oven Screw |
| 810 | WB1X1130 GE Oven Screw 10-32 |
| 875 | WH2X930 GE Screw |
| 939 | GEN WB01K5126 |
| 977 | WB2X8454 GE Oven Nut |