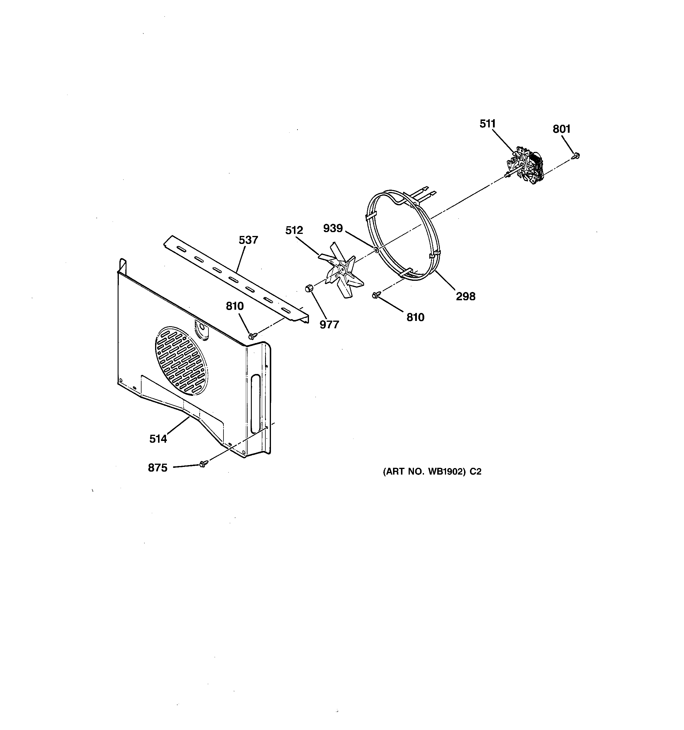
JTP18AV2AA BLOWER