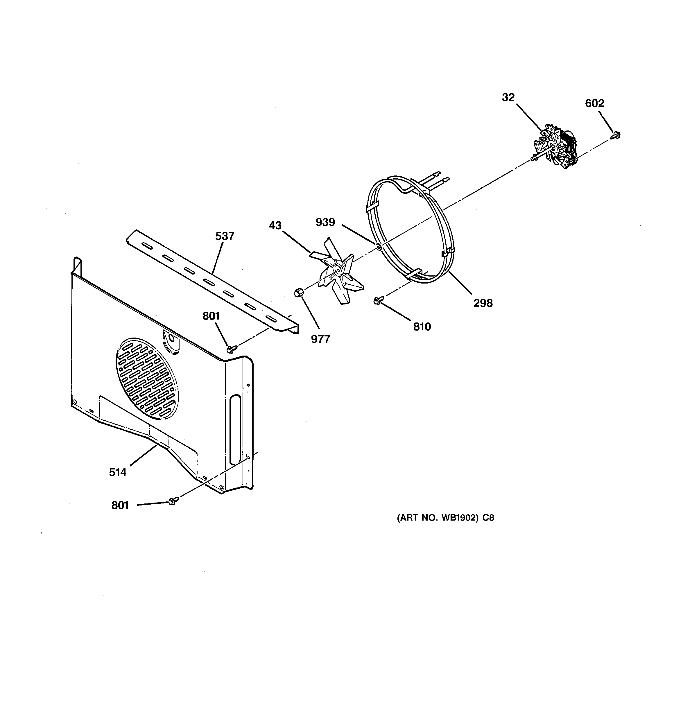
JTP18WA2WW FAN