| 2 | GEN WB36K5530 |
| 2 | GEN WB36K5353 |
| 2 | GEN WB36K5354 |
| 2 | GEN WB07K5286 |
| 2 | VENT END CAP-LT-BLK |
| 2 | GEN WB36K5529 |
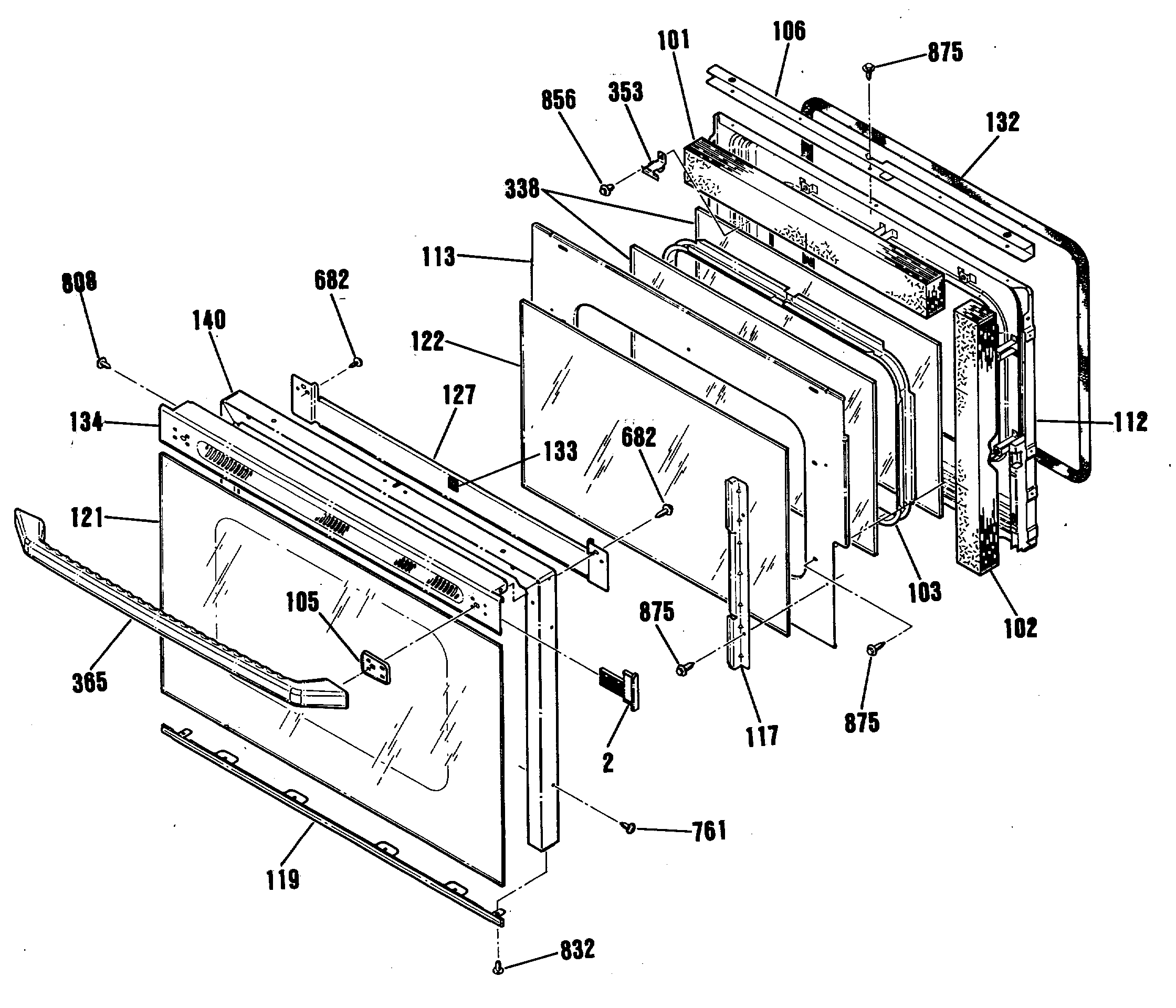
| 101 | WB35K5097 GE Oven Door Insulation SD |
| 103 | GEN WB02K5321 |
| 105 | HANDLE TRIM-BLACK |
| 106 | GEN WB07K5300 |
| 112 | GEN WB55K5035 |
| 113 | GEN WB02K5322 |
| 117 | WB56T10373 GE Oven Door Retainer Kit |
| 119 | GEN WB07K5288 |
| 121 | GEN WB57K5212 |
| 122 | WB57K5230 GE Oven Inner Glass Door |
| 127 | GEN WB34K5197 |
| 132 | GEN WB32K5039 |
| 133 | FELT PAD |
| 134 | GEN WB07K5299 |
| 140 | GEN WB56K5129 |
| 338 | CRYSTAL WINDOW |
| 353 | WB2X8320 GE Oven Window Clip |
| 365 | GEN WB15X5208 |
| 682 | WB1K5186 GE Oven Screw 6-32 X 3/5" 1/4" Hex D |
| 761 | WB1K5029 GE Oven Screw |
| 808 | WB1X1116 GE Oven Screw |
| 832 | WB1X1118 GE Oven Screw 6-32T |
| 832 | SCREW |
| 856 | WB1X1293 GE Oven Screw |
| 875 | WH2X930 GE Screw |