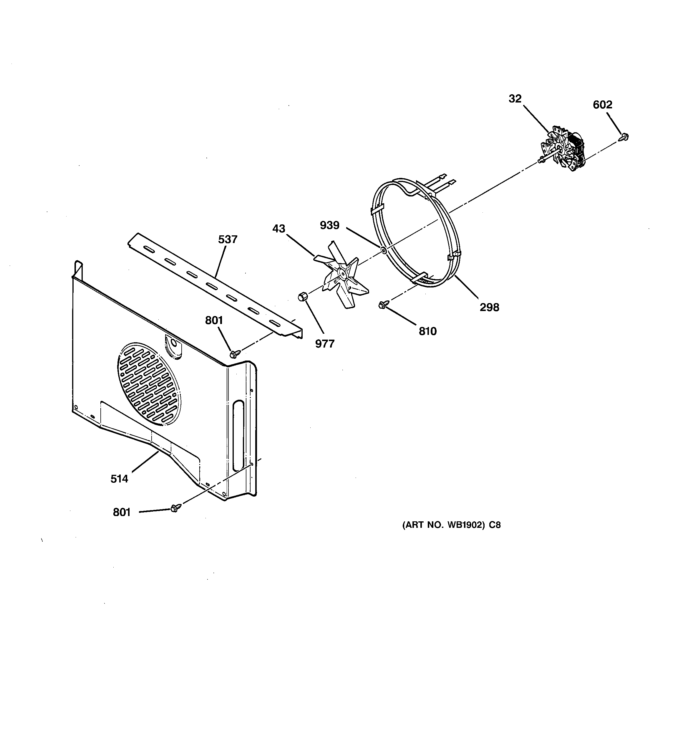
JTP56WA2WW FAN