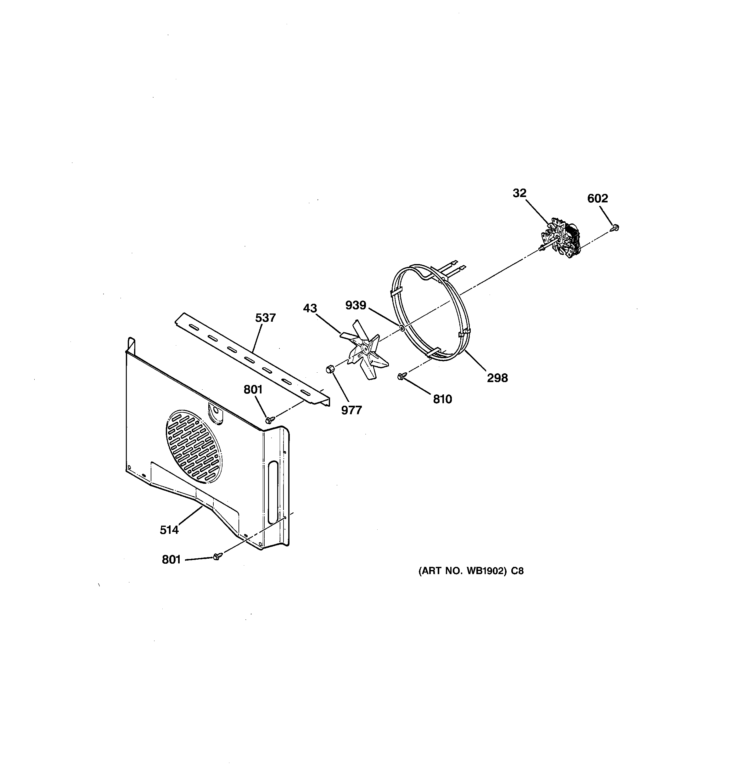
JTP95BA2BB CONVECTION FANadmin2025-04-26T10:38:27+00:00JTP95BA2BB CONVECTION FAN ProductsPositionProduct32FAN MOTOR CONV.32WB26K5061 GE Oven Upper Fan Assembly43WB02T10289 GE Oven Stirring Fan Blade298WB44T10053 GE Oven Convection Element514GEN WB26T10002537GEN WB26T10001602GEN WH02X0941801WB1M1 GE Oven Screw810WB1X1130 GE Oven Screw 10-32939GEN WB01T10010977WB02T10017 GE Oven Nut