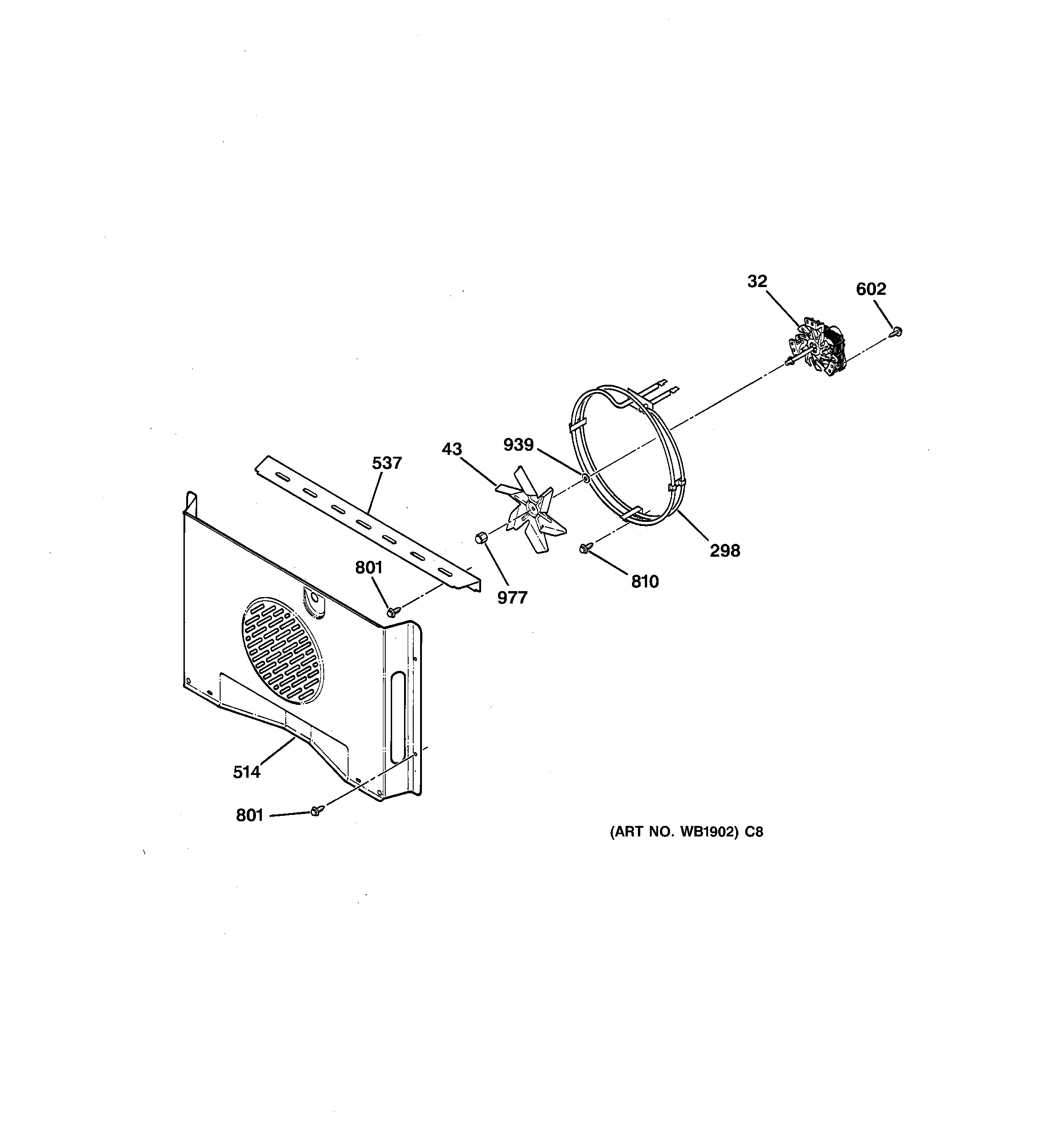
JTP95WA2WW CONVECTION FAN