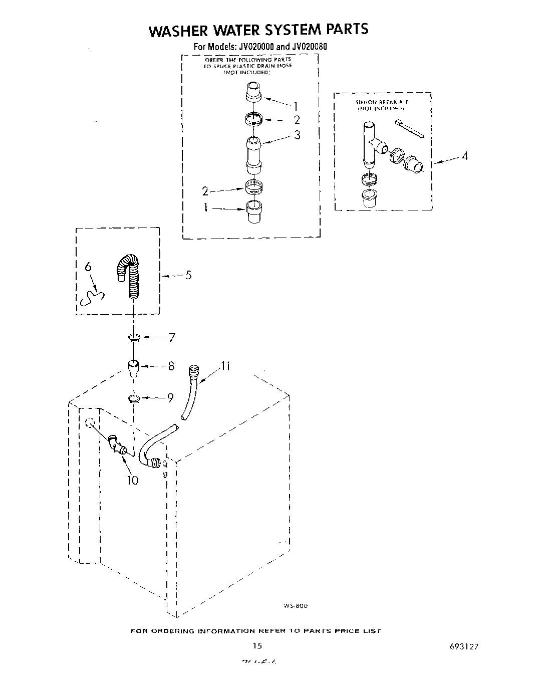
JV020000 12 – WASHER WATER SYSTEM