JV322S3AD 0
Products
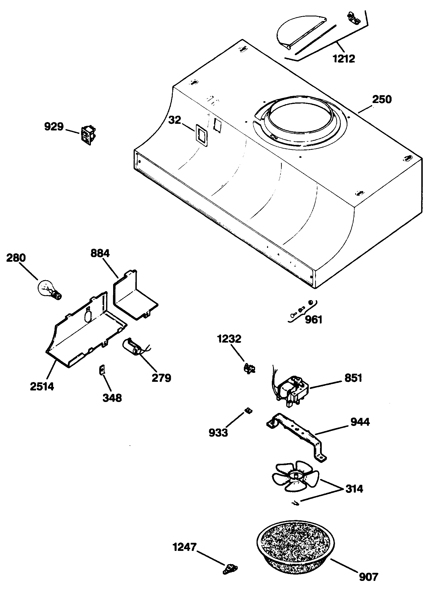
| Position | Product |
|---|---|
| 32 | GEN WB07X7264 |
| 122 | GEN WB02X1422 |
| 250 | OVEN ASSEMBLY |
| 279 | GEN WB08X5109 |
| 280 | LAMP 60W |
| 314 | GEN WB02X8402 |
| 314 | GEN WB02X8394 |
| 348 | PLATE GROUND |
| 851 | GEN WB26X5105 |
| 851 | GEN WB01X5691 |
| 884 | GEN WB02X3372 |
| 884 | GEN WB02X3368 |
| 884 | GEN WB02X7372 |
| 907 | WB2X2052 GE Grease Filter Replacement |
| 929 | GEN WB23X5097 |
| 933 | GEN WB02X1862 |
| 944 | GEN WB02X4005 |
| 961 | GEN WB01X5903 |
| 1211 | GEN WB02X8404 |
| 1212 | GEN WB02X8403 |
| 1232 | GEN WB02X8407 |
| 1247 | FILTER CLIP (1) |
| 2048 | WR60X114 GE Refrigerator Evaporator Motor Fan Blade |
| 2514 | GEN WB02X8398 |
| 2514 | GEN WB02X8399 |
| 32767 | GEN 49-8456 |
| 32767 | GEN WB01X5905 |
| 32767 | GEN WB18X5137 |