JV332*J1
Products
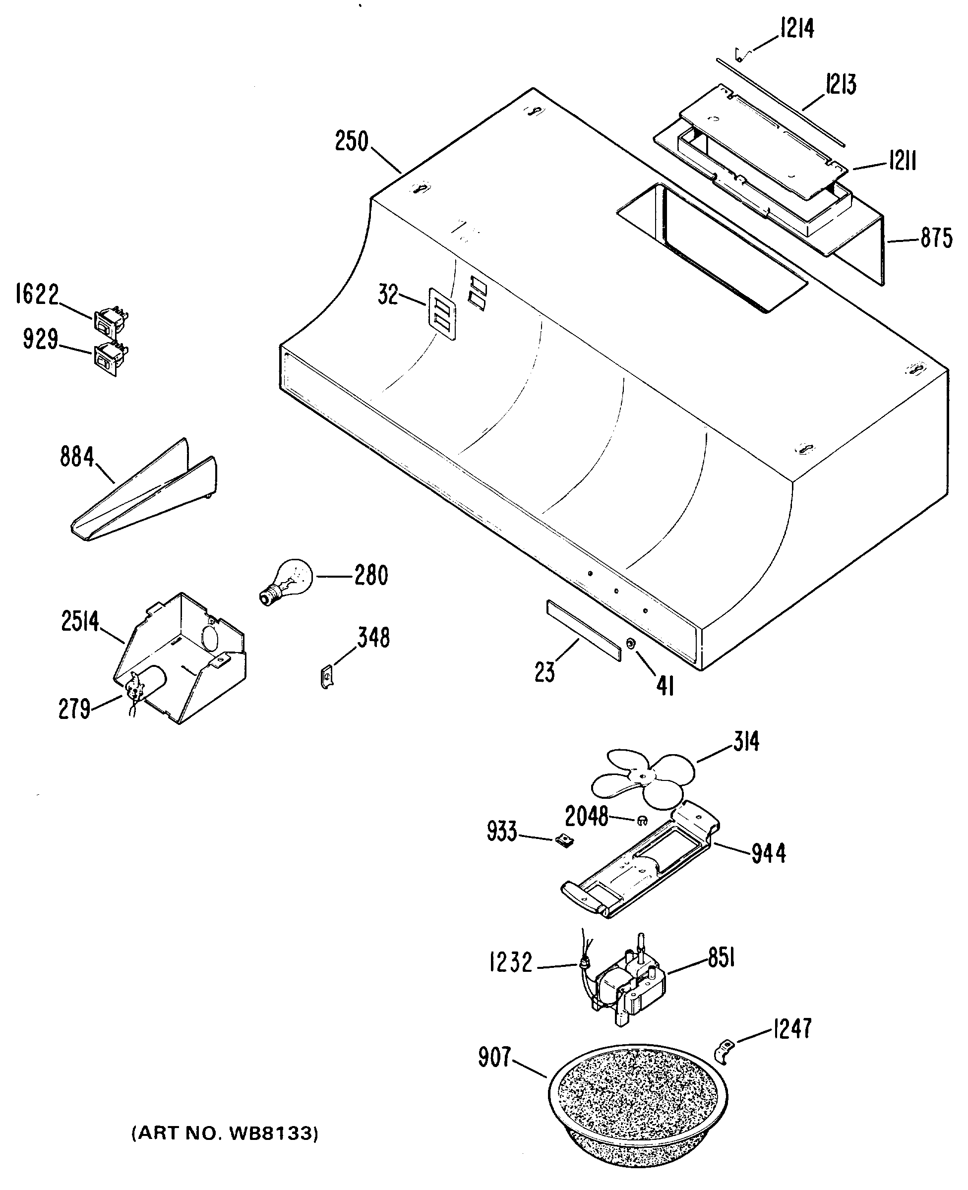
| Position | Product |
|---|---|
| 23 | GEN WB07X1145 |
| 32 | GEN WB07X1477 |
| 41 | CLIP MTG JEWEL |
| 250 | OVEN ASSEMBLY |
| 279 | GEN WB08X0259 |
| 280 | LAMP 60W |
| 314 | GEN WB02X2128 |
| 348 | PLATE GROUND |
| 830 | GEN WB02X3463 |
| 851 | GEN WB01X5691 |
| 875 | GEN WB49X0196 |
| 884 | GEN WB02X7372 |
| 884 | GEN WB02X3368 |
| 884 | GEN WB02X3372 |
| 907 | WB2X2052 GE Grease Filter Replacement |
| 933 | GEN WB02X1862 |
| 944 | GEN WB02X4005 |
| 1211 | GEN WB02X2139 |
| 1213 | GEN WB02X2138 |
| 1214 | GEN WB09X0097 |
| 1232 | GEN WB02X7373 |
| 1247 | GEN WB01X0665 |
| 2048 | WR60X114 GE Refrigerator Evaporator Motor Fan Blade |
| 2514 | GEN WB02X4000 |
| 2514 | GEN WB02X4001 |
| 2514 | GEN WB02X4004 |
| 32767 | GEN WB24X0375 |
| 32767 | GEN WB26X5077 |
| 32767 | GEN 31-0619 |
| 32767 | GEN 49-4784 |
| 32767 | GEN WB24X0374 |