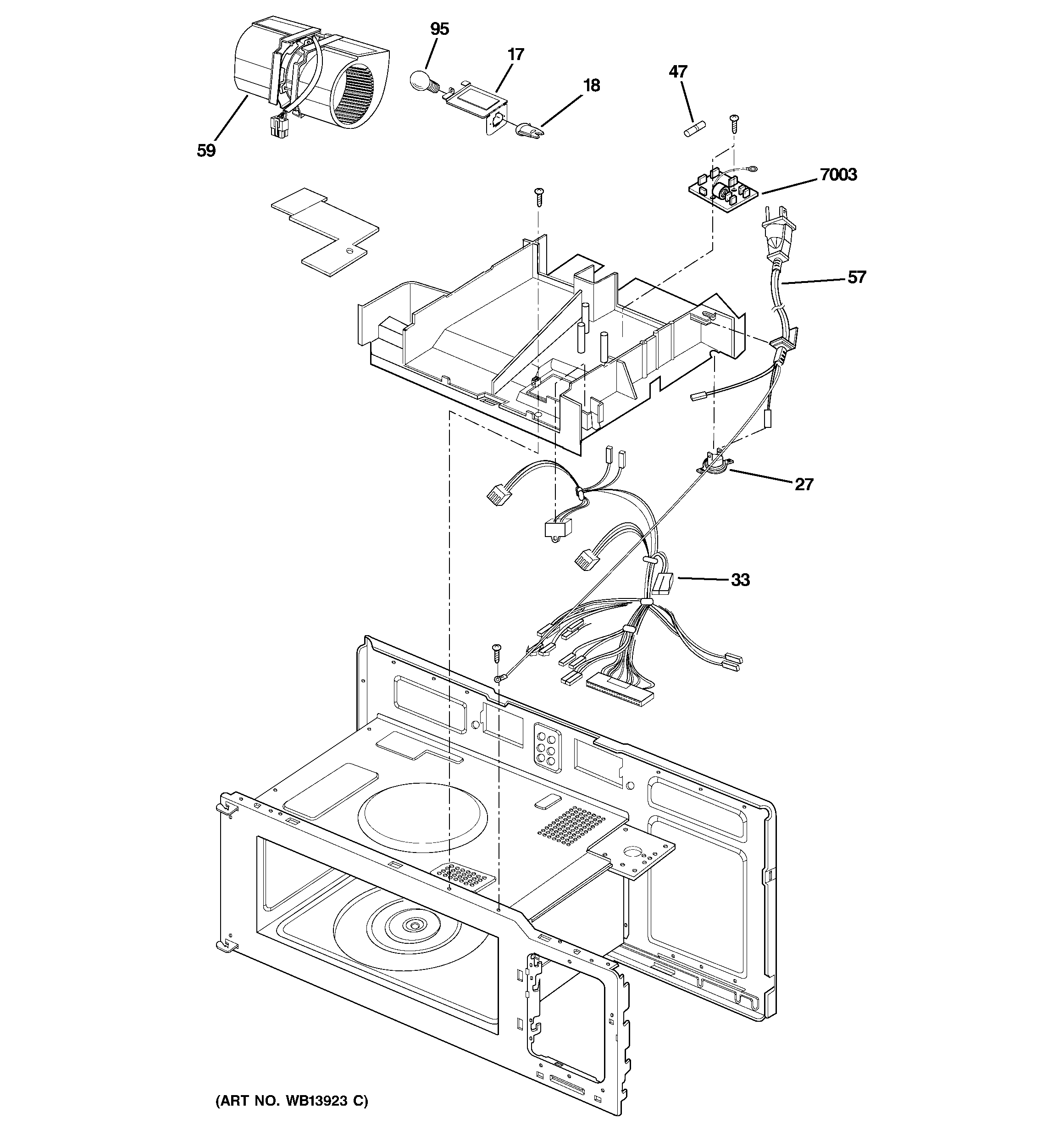
JVM1540DM1BB INTERIOR PARTS (2)admin2025-04-26T08:48:07+00:00JVM1540DM1BB INTERIOR PARTS (2) ProductsPositionProduct17COVER,LAMP18GEN WB08X1002227GEN WB27X1078933GEN WB18X1036747WB27X10928 GE Oven Line Fuse57GEN WB18X1036659MOTOR VENTILATION95WB36X10328 GE Oven 20W 120V Light Bulb Intermediate Base7003FILTER ASM NOISE