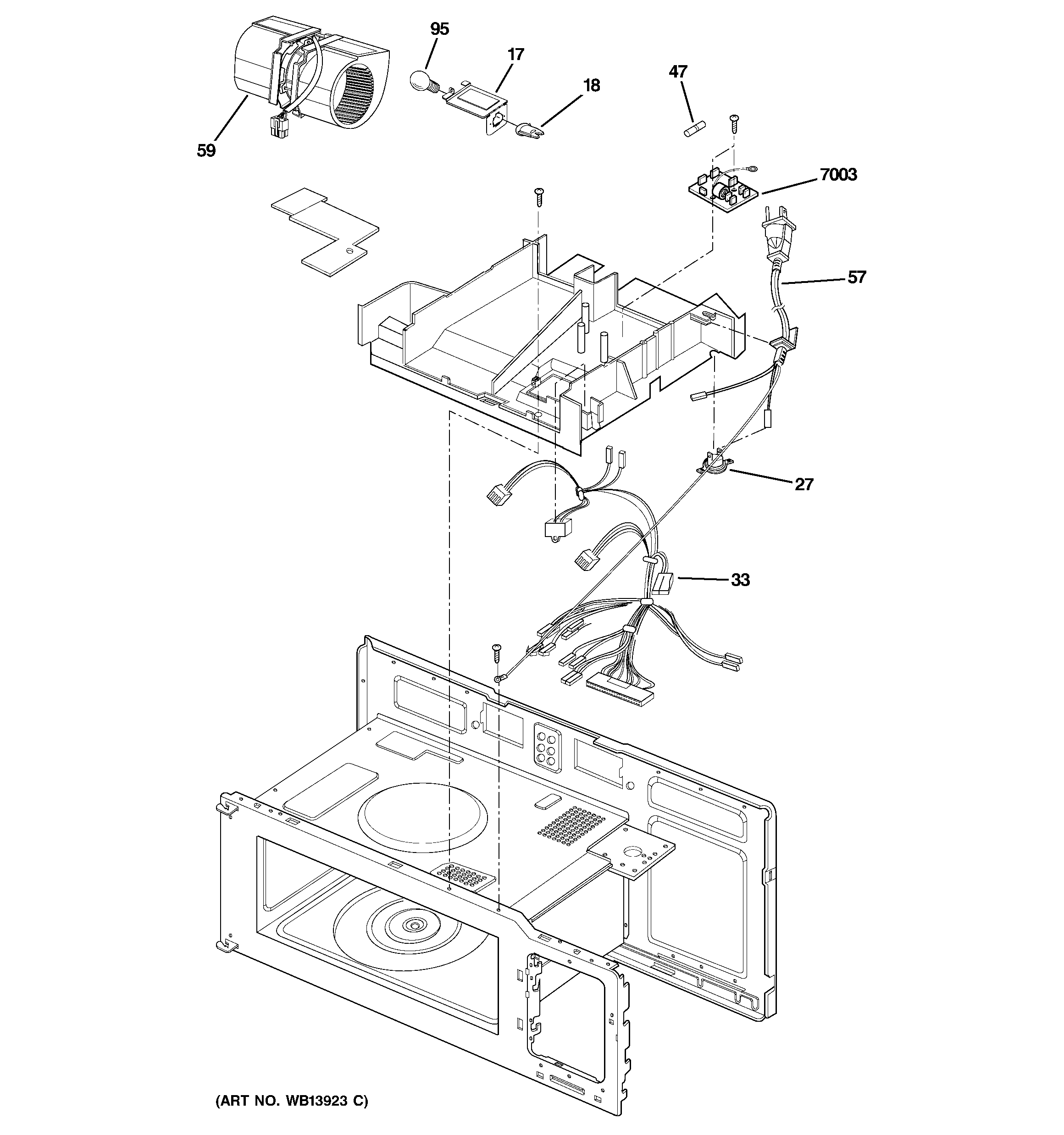
JVM1540DM3WW INTERIOR PARTS (2)admin2025-04-26T08:48:07+00:00JVM1540DM3WW INTERIOR PARTS (2) ProductsPositionProduct17COVER,LAMP18GEN WB08X1002227THERMOSTAT33GEN WB18X1036747WB27X11099 GE Oven Fuse57GEN WB18X1045059MOTOR VENTILATION95WB36X10328 GE Oven 20W 120V Light Bulb Intermediate Base7003GEN WB27X11101