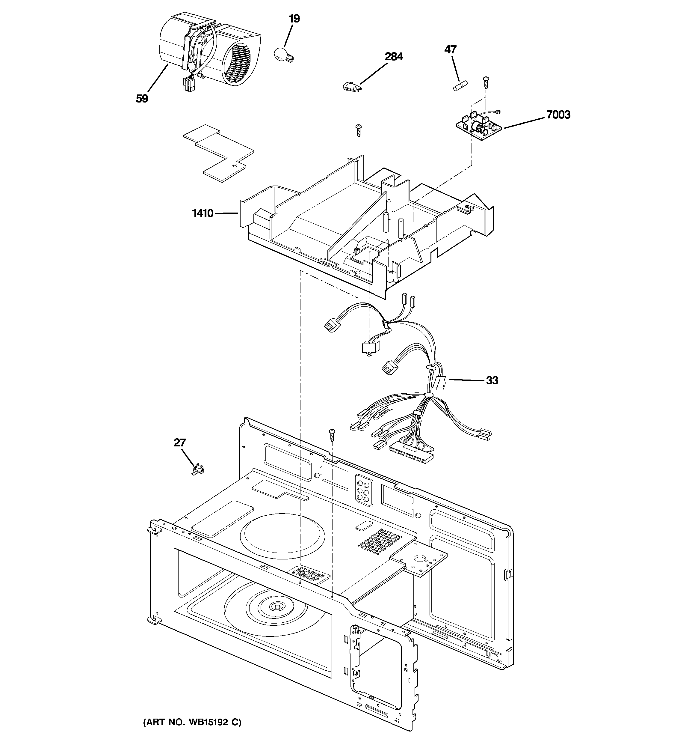
JVM1810DS1WW INTERIOR PARTS (2)admin2025-04-26T10:15:09+00:00JVM1810DS1WW INTERIOR PARTS (2) ProductsPositionProduct19WB36X10328 GE Oven 20W 120V Light Bulb Intermediate Base27THERMOSTAT33GEN WB18X1049047WB27X10928 GE Oven Line Fuse59GEN WB26X10260284WB08X10059 GE Oven Lamp Holder1410GEN WB53X100237003WB27X11134 GE Noise Filter