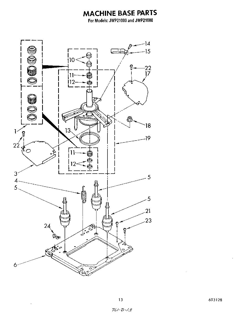
JWP21000 10 – MACHINE BASEadmin2025-04-26T09:37:45+00:00JWP21000 10 – MACHINE BASE ProductsPositionProduct1285203 Whirlpool CP Bearing3WP64137 Whirlpool Shield Assembly4WPW10250667 Whirlpool Washer Suspension Spring5W10207783 Whirlpool Washer Suspension Spring Kit (Set of 3)6WP8577373 Whirlpool Base Assembly10WP8577376 Whirlpool Seal11WP8546455 Whirlpool Bearing12W11095997 Whirlpool Seal13WP63134 Whirlpool Ring14WP273556 Whirlpool Screw1563636 Whirlpool Bracket1763637 Whirlpool Shield18279710 Whirlpool Nut19W10863713 Whirlpool Support21SCREW22WP90767 Whirlpool Screw23386011 Whirlpool Screw24696044 Whirlpool Block